样品
成果详情
| 项目简介 | |||||
|---|---|---|---|---|---|
| 技术简介: | |||||
| 专利类型: | 实用新型 | 专利申请号: | CN202122131844.8 | 公开号: | CN215608286U | 
| 专利权人: | 南方医科大学南方医院 | 发明设计人: | 陈艳;马志芳;刘艳姣;包涵;马晓桃 | ||
| 所属领域: | |||||
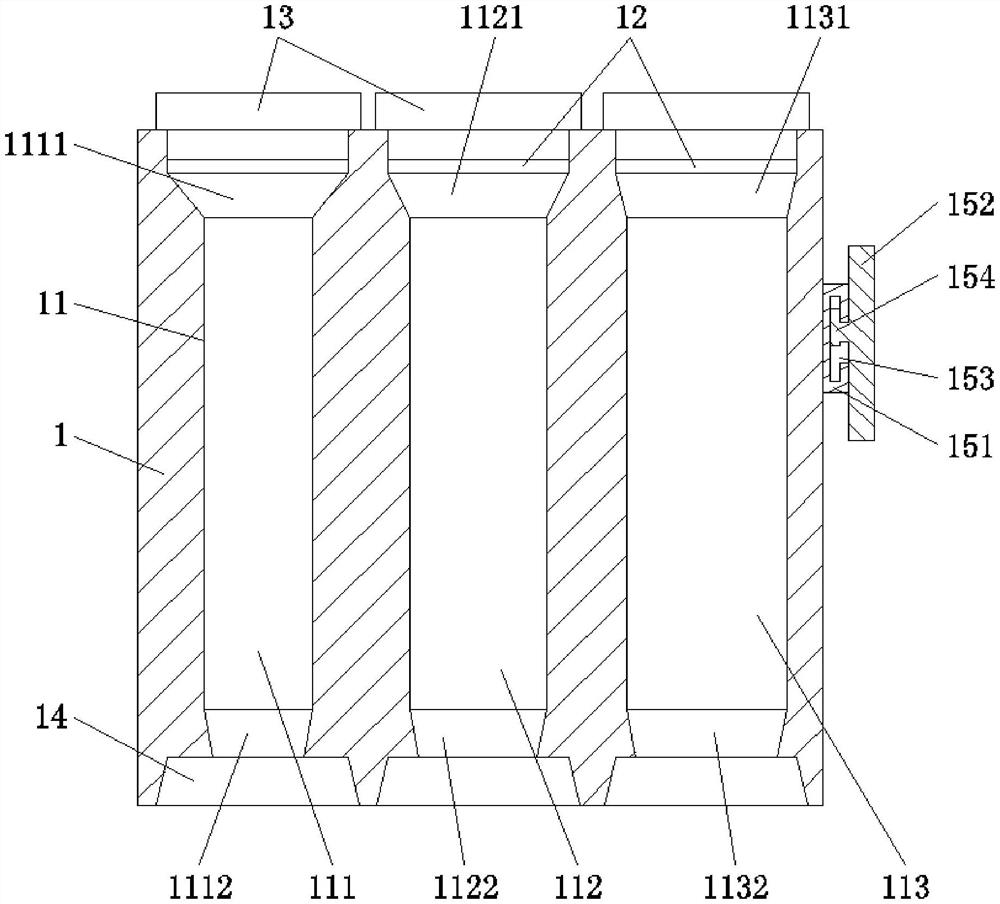
| 摘要: | 本实用新型公开了一种壁挂式输液网套收纳器。一种壁挂式输液网套收纳器,包括收纳筒本体,在所述收纳筒本体内设有至少两个能够分别收纳不同规格输液网套的收纳腔,在所述收纳筒本体的上方设有能够分别连通三个收纳腔的放置口,所述放置口上均装设有筒盖,在所述收纳筒本体的下方设有能够分别连通收纳腔的抽拉口,在所述收纳筒本体的外侧设有能够固定在墙面上的固定组件。本实用新型一种壁挂式输液网套收纳器,使用简单方便并且能够有效分类存放输液网套。 | ||||
| 补充信息 | |||||
| 转让方式: | 成熟度: | 预估价值: | |||
| 市场前景: | |||||