样品
成果详情
| 项目简介 | |||||
|---|---|---|---|---|---|
| 技术简介: | |||||
| 专利类型: | 实用新型 | 专利申请号: | CN201821096081.X | 公开号: | CN208974790U |
| 专利权人: | 南方医科大学南方医院 | 发明设计人: | 王君兰;冯建宇;王凤娥 | ||
| 所属领域: | |||||
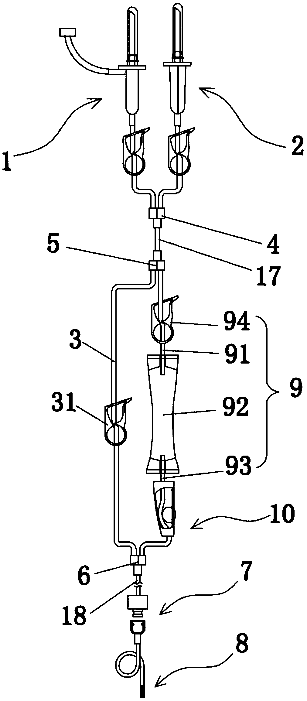
| 摘要: | 本实用新型公开了一种一次性自体血回输装置,包括血袋穿刺器,还包括瓶塞穿刺器,血袋穿刺器和瓶塞穿刺器通过第一三通接口与第一输液管一端连接,所述第一输液管另一端通过第二三通接口分别连接有采血管和输血过滤装置的一端,采血管和输血过滤装置的另一端通过第三三通接口与第二输液管一端连接,第二输液管的另一端通过快拆机构连接有静脉穿刺器。本实用新型提供的一次性自体血回输装置,同时具备采血、输送生理盐水和自体血回输功能,且针对同一个患者时,穿刺针组件可以单独拆卸下来而无需更换整个自体血回输装置,提高产品利用率,降低使用成本。 | ||||
| 补充信息 | |||||
| 转让方式: | 成熟度: | 预估价值: | |||
| 市场前景: | |||||