样品
成果详情
| 项目简介 | |||||
|---|---|---|---|---|---|
| 技术简介: | |||||
| 专利类型: | 实用新型 | 专利申请号: | CN202021728029.9 | 公开号: | CN213493810U |
| 专利权人: | 南方医科大学南方医院 | 发明设计人: | 林玉英;朱顺芳 | ||
| 所属领域: | |||||
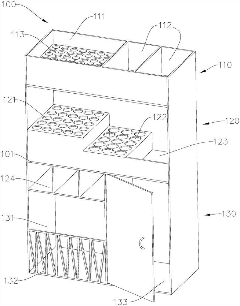
| 摘要: | 本实用新型公开了一种医用标本置物架,涉及物品收纳装置技术领域,包括架体,架体设置有多个底板,底板上方设置容纳置物空间,底板上下依次分布从而将架体分割为上层置物区、中层置物区以及下层置物区,上层置物区上设有连接板,连接板将上层置物区分为从左至右依次排列的第一腔体和第二腔体,中层置物区设有第三腔体、第五腔体及位于第三腔体与第五腔体之间的第四腔体,中层置物区与上层置物区之间设有空隙,下层置物区包括第一腔室以及与中层置物区底部连接的第二腔室,第一腔室与中层置物区之间还设有第三腔室。通过多层架构设计、多个腔体和腔室的组合能使标本的摆放更有层次,标本分类更有序。 | ||||
| 补充信息 | |||||
| 转让方式: | 成熟度: | 预估价值: | |||
| 市场前景: | |||||