样品
成果详情
| 项目简介 | |||||
|---|---|---|---|---|---|
| 技术简介: | |||||
| 专利类型: | 实用新型 | 专利申请号: | CN201921624661.6 | 公开号: | CN211534955U |
| 专利权人: | 南方医科大学珠江医院 | 发明设计人: | 钟克波;傅裕;薛巍松;李阳;梁康檐;黎少;高毅;张健民;徐小平 | ||
| 所属领域: | |||||
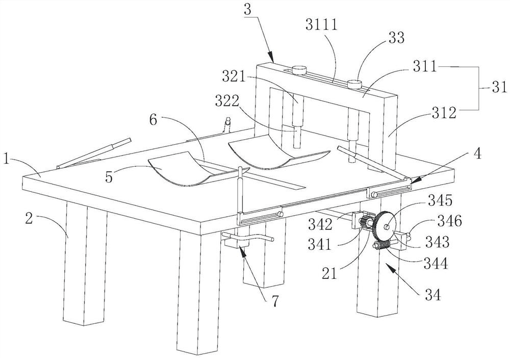
| 摘要: | 本实用新型提供一种动物实验台,解决了现有动物实验台保定效果不好的问题,其技术方案要点是动物实验台包括台体,所述台体上设有头部固定装置和四肢固定装置,所述台体上设有用于支撑动物背部且可弹性变形的弧形板,所述弧形板的底部与台体连接固定。通过在台体台面上设置用于支撑动物背部的弧形板,再利用头部固定装置和四肢固定装置对动物进行固定弧形板能够更好地对动物进行定位支撑,使动物的腹部竖直朝上,尤其对于身体前后比与左右比较大的动物如猪来说,能够起到了极好的保定效果,防止其在实验过程中发生侧倾,确保手术的正常进行。 | ||||
| 补充信息 | |||||
| 转让方式: | 成熟度: | 预估价值: | |||
| 市场前景: | |||||