样品
成果详情
| 项目简介 | |||||
|---|---|---|---|---|---|
| 技术简介: | |||||
| 专利类型: | 实用新型 | 专利申请号: | CN202020367985.2 | 公开号: | CN212234498U |
| 专利权人: | 南方医科大学南方医院 | 发明设计人: | 肖敏;彭阳;黄榕 | ||
| 所属领域: | |||||
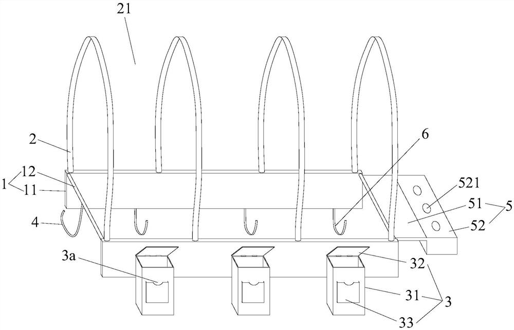
| 摘要: | 本实用新型公开了一种一体式医用便盆尿壶架,包括固定在卫生间墙上的架体,所述架体的上侧固定有多个间隔分布的分隔件,每相邻的两个分隔件之间形成便盆放置区,架体的前侧固定有多个均带有床号牌插槽且均容纳有待使用尿液标本收集试管及大便标本收集盒的容纳盒,架体的左侧或右侧固定有一量杯挂钩,架体的右侧或左侧固定有标本暂放架,架体的下侧固定有多个间隔分布的尿壶挂钩。本实用新型的一体式医用便盆尿壶架置于卫生间使用,从而利于病区管理及符合医院感染控制要求,而且还能够方便病人排泄后随时留标本。 | ||||
| 补充信息 | |||||
| 转让方式: | 成熟度: | 预估价值: | |||
| 市场前景: | |||||