样品
成果详情
| 项目简介 | |||||
|---|---|---|---|---|---|
| 技术简介: | |||||
| 专利类型: | 实用新型 | 专利申请号: | CN202022865908.2 | 公开号: | CN213736400U | 
| 专利权人: | 南方医科大学南方医院 | 发明设计人: | 许波;何燕;许重远;尹军花;曹婉雯;古安城 | ||
| 所属领域: | |||||
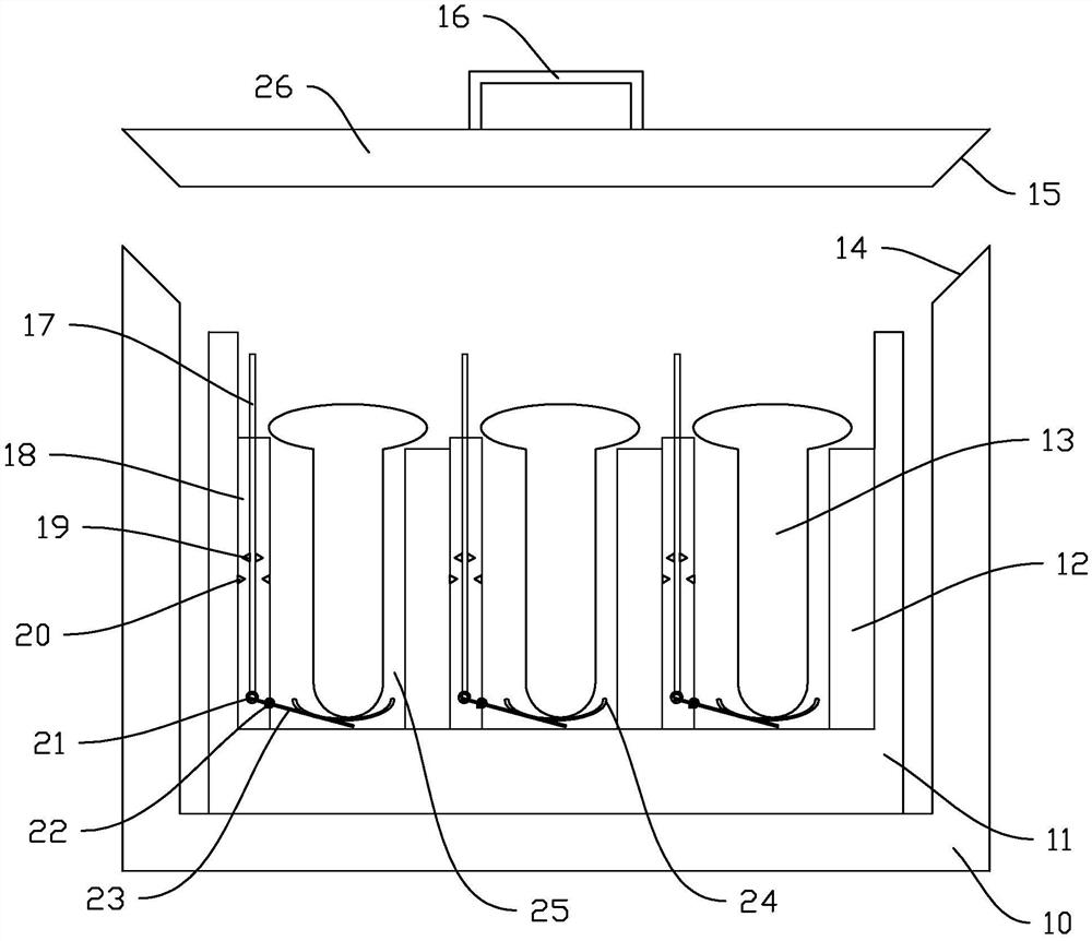
| 摘要: | 本实用新型公开了冻存管存放箱,包括至少一条冻存板、箱体、箱盖和顶升机构,每条冻存板设置有至少两个冻存格,冻存格上设有第一腔体和内部中空的第一侧壁,第一侧壁位于第一腔体旁;箱体用于放置所述冻存板;箱盖设置在箱体上;顶升机构设置在第一侧壁,顶升机构包括按压杆和与按压杆下端铰接的连接杆,连接杆的中部铰接在第一侧壁,连接杆的自由部穿过第一侧壁后延伸至第一腔体内,按压杆的下行以驱动连接杆驱使置于第一腔体内的冻存管上行。操作者根据需要向下按压按压杆,按压杆的下行以驱动连接杆驱使置于第一腔体内的冻存管上行,使得冻存管至少部分外露在第一腔体外,实现冻存管将自动突出,方便操作者拿取。 | ||||
| 补充信息 | |||||
| 转让方式: | 成熟度: | 预估价值: | |||
| 市场前景: | |||||