样品
成果详情
| 项目简介 | |||||
|---|---|---|---|---|---|
| 技术简介: | |||||
| 专利类型: | 实用新型 | 专利申请号: | CN202022787144.X | 公开号: | CN213736289U | 
| 专利权人: | 南方医科大学南方医院 | 发明设计人: | 许波;周宏珍;任素桃;康玲;陈晓云;张丽芬 | ||
| 所属领域: | |||||
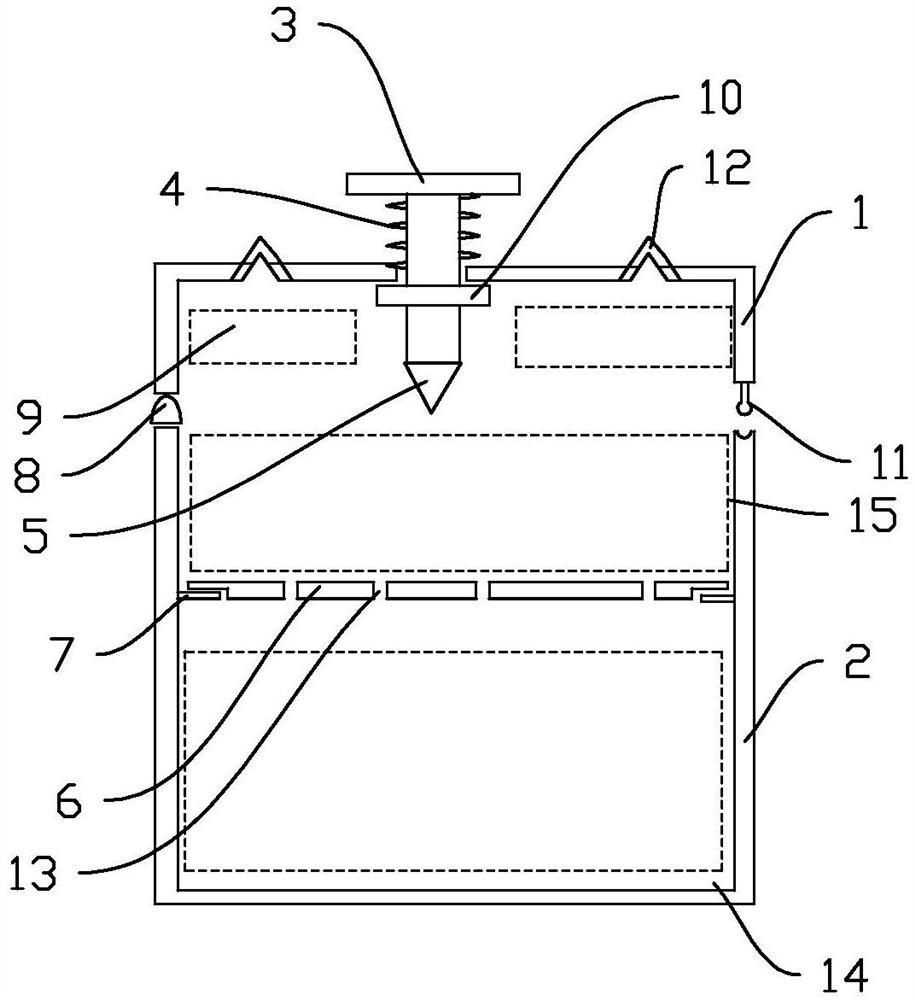
| 摘要: | 本实用新型公开了一种刺穿式药物转运装置,包括保温箱、存放箱和冷冻格,存放箱置于保温箱内;冷冻格置于保温箱内且位于保温箱的内壁和存放箱的外壁之间,冷冻格具有将内部分成第一腔体和第二腔体的隔板,第一腔体和第二腔体连通,第一腔体用于放置通过水溶性塑料薄膜的反应剂,第二腔体用于放置制冷剂,冷冻格设有穿刺针和按压板。本实用新型的按压板被按压下行,穿刺针将制冷剂刺穿,制冷剂从第二腔体和第一孔洞流到第一腔体内,将反应剂表面的水溶性塑料薄膜溶解,使得制冷剂和反应剂混合发生吸热反应,达到制冷的效果,达到制冷的效果,使存放箱中保持冷藏效果,本实用新型可广泛应用于医疗器械技术领域。 | ||||
| 补充信息 | |||||
| 转让方式: | 成熟度: | 预估价值: | |||
| 市场前景: | |||||