样品
成果详情
| 项目简介 | |||||
|---|---|---|---|---|---|
| 技术简介: | |||||
| 专利类型: | 实用新型 | 专利申请号: | CN202120647224.7 | 公开号: | CN215783465U |
| 专利权人: | 南方医科大学珠江医院 | 发明设计人: | 李阳 | ||
| 所属领域: | |||||
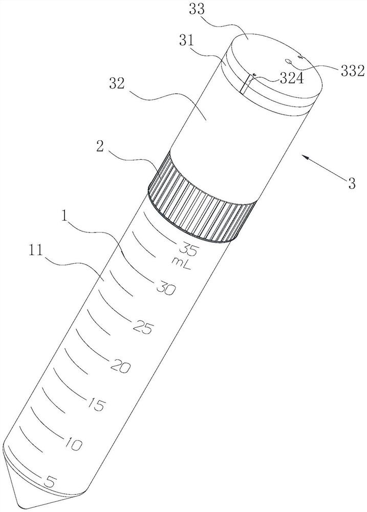
| 摘要: | 本申请提供一种无菌配平离心管,其包括离心管主体及封盖,所述封盖上可拆卸连接有配平管,所述配平管顶部设有进液口,所述进液口处设有防止配平液从所述配平管流出的防倒流组件,以通过所述配平管内配平液的重量来平衡不同所述离心管主体的重量差值。通过设置配平管向所述配平管中注入适量的配平液以平衡不同离心管主体内待离心溶液的重量差值,以在离心操作前完成离心机两边质量的配平,以避免离心机在离心时受到的偏心力对机器产生的影响。同时,本申请无需打开离心管主体的封盖,可避免引入配平液对待离心溶液的污染,实现了无菌配平,保证离心液的质量。 | ||||
| 补充信息 | |||||
| 转让方式: | 成熟度: | 预估价值: | |||
| 市场前景: | |||||