样品
成果详情
| 项目简介 | |||||
|---|---|---|---|---|---|
| 技术简介: | |||||
| 专利类型: | 发明 | 专利申请号: | CN201710294422.8 | 公开号: | CN107126645A |
| 专利权人: | 南方医科大学 | 发明设计人: | 王军;张平;陈嘉志;徐朴;龙浩;杨开军;殷延毅;张国忠;方陆雄;彭林;邱炳辉;张喜安;潘军;冯文峰;漆松涛 | ||
| 所属领域: | |||||
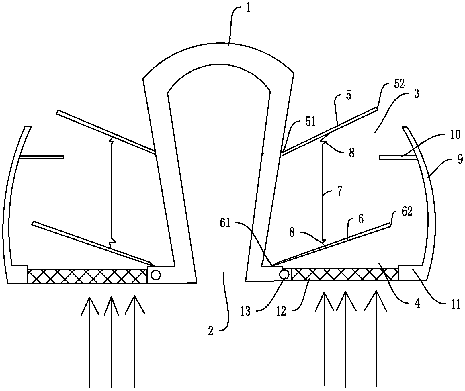
| 摘要: | 本发明公开了一种经鼻呼吸过滤器,用于改善呼吸技术领域,包括呈拱形的连接支架,所述连接支架的底部开口形成卡入部,连接支架的两侧设有筒状的塞入部件,每侧所述的塞入部件内设有气流通道和可在气流通道内启闭的过滤膜,气流通道具有吸入口和呼出口,所述呼出口处设有蒸发膜,所述连接支架内设有液体储存腔,连接支架外壁设有连通液体储存腔的微孔,蒸发膜连接所述微孔。本发明与鼻腔粘膜接触少,对鼻腔生理环境的影响小,能够最大限度地降低了呼气阻力同时还能对气管有治疗辅助的作用。 | ||||
| 补充信息 | |||||
| 转让方式: | 成熟度: | 预估价值: | |||
| 市场前景: | |||||