样品
成果详情
| 项目简介 | |||||
|---|---|---|---|---|---|
| 技术简介: | |||||
| 专利类型: | 实用新型 | 专利申请号: | CN202120233311.8 | 公开号: | CN215134159U | 
| 专利权人: | 南方医科大学南方医院 | 发明设计人: | 许丽清;魏红云;李雪华;史秀英;欧庆;李裕城;曾秋萍;彭岚 | ||
| 所属领域: | |||||
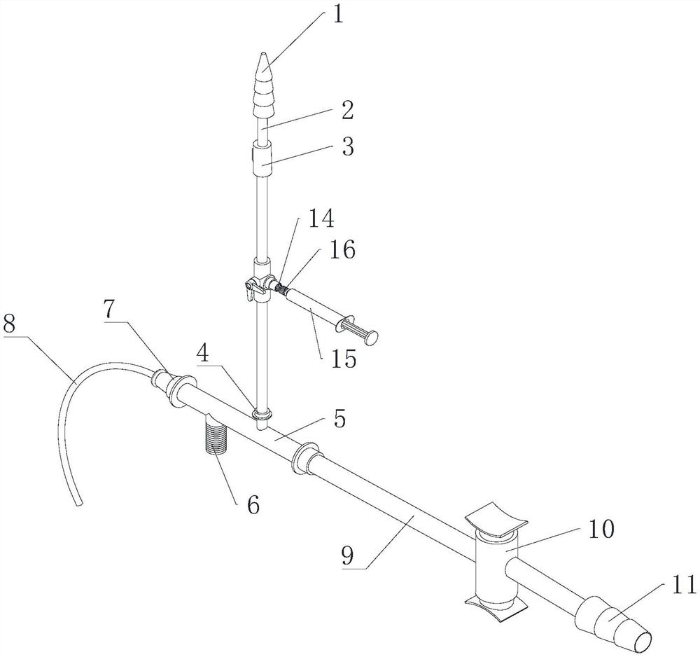
| 摘要: | 本实用新型公开了一种抽吸式安全型密闭式吸痰管冲洗装置,该冲洗装置创新性的通过在墨菲式滴管中串入一个二通阀,并在二通阀上连接有一个注射器,并为了方便注射器与二通阀的连接牢固性,在二通阀的出口处设置有内螺纹接口,以及在注射器的前端设置有外螺纹接头,解决了现有吸痰装置在使用时,护士在操作清洗吸痰管的过程中,一旦忘记操作第三步即忘记关闭墨菲式滴管开关,而是直接进行第四步松开负压按钮,此时生理盐水会通过墨菲式滴管直接灌入病人肺部(气管道),引起病患呛咳,进而严重的并发感染,如吸入性肺炎,严重者则可能引起病患窒息的问题发生,该装置能进一步提高患者的治疗效果,防止吸入性肺炎并发感染,具有非常积极的应用价值。 | ||||
| 补充信息 | |||||
| 转让方式: | 成熟度: | 预估价值: | |||
| 市场前景: | |||||