样品
成果详情
| 项目简介 | |||||
|---|---|---|---|---|---|
| 技术简介: | |||||
| 专利类型: | 实用新型 | 专利申请号: | CN202221591931.X | 公开号: | CN218045785U |
| 专利权人: | 南方医科大学珠江医院 | 发明设计人: | 高丽娟;刘杏清;杨硕 | ||
| 所属领域: | |||||
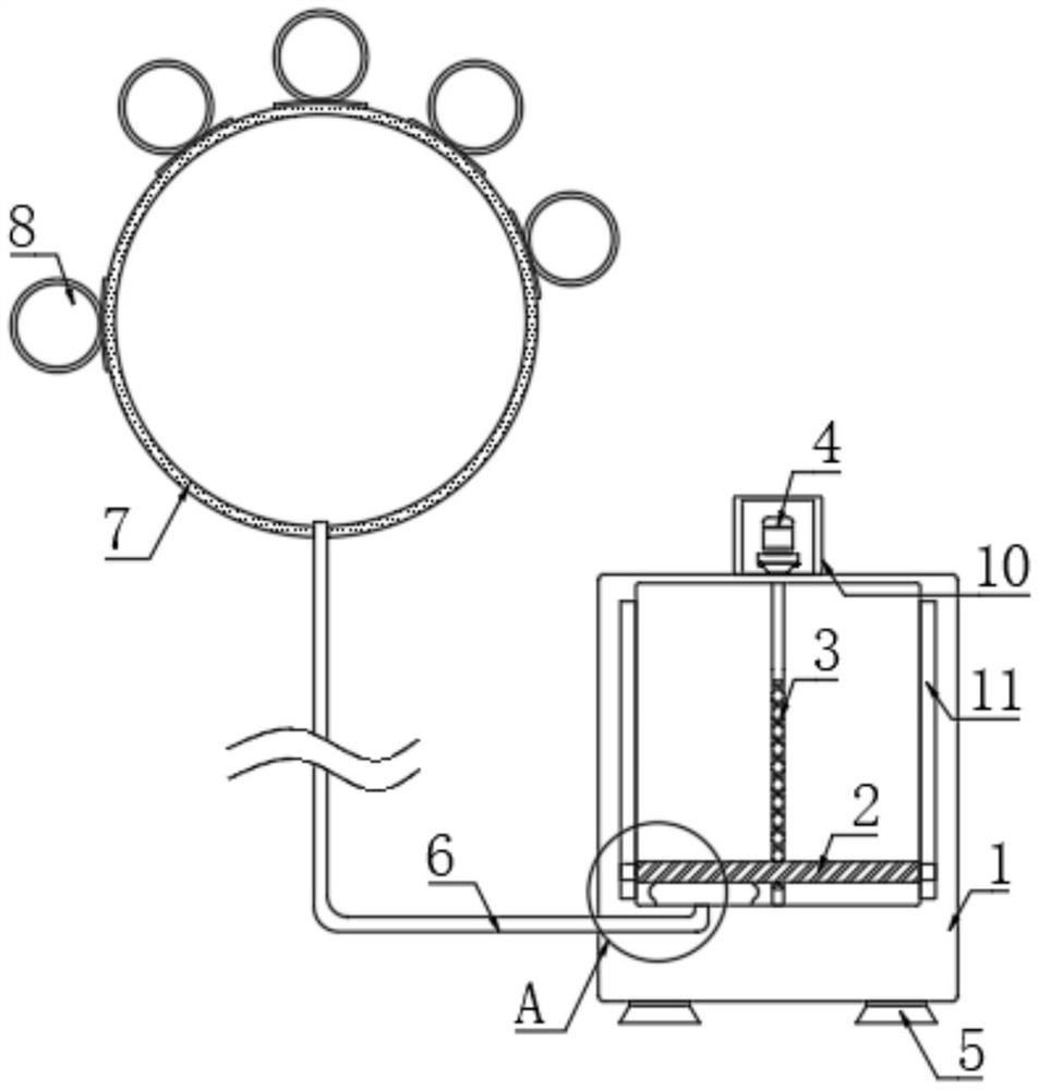
| 摘要: | 本实用新型公开了一种手指活动辅助装置,包括壳体和弹性充气球,所述弹性充气球的外侧固定连接有多个手指限位套,多个所述手指限位套材质均为弹性布,所述壳体内设置有可上下滑动的升降板,所述升降板的下端与壳体的内底部间设置有伸缩囊,所述伸缩囊通过连接管与弹性充气球连通;所述壳体内部和壳体的上端共同设置有用于驱动升降板上下移动的驱动机构。该装置在使用的过程中,可以伸缩囊和弹性充气球的配合,对偏瘫患者的手部进行活动,避免后续手指功能难以康复的情况出现,且电机采用可改变转动速度的伺服电机,可以对活动的速度调节,以满足多种使用需求。 | ||||
| 补充信息 | |||||
| 转让方式: | 成熟度: | 预估价值: | |||
| 市场前景: | |||||