样品
成果详情
| 项目简介 | |||||
|---|---|---|---|---|---|
| 技术简介: | |||||
| 专利类型: | 发明 | 专利申请号: | CN202210231056.2 | 公开号: | CN114569124A |
| 专利权人: | 南方医科大学南方医院 | 发明设计人: | 周翠萍;李旭;刘兆滨 | ||
| 所属领域: | |||||
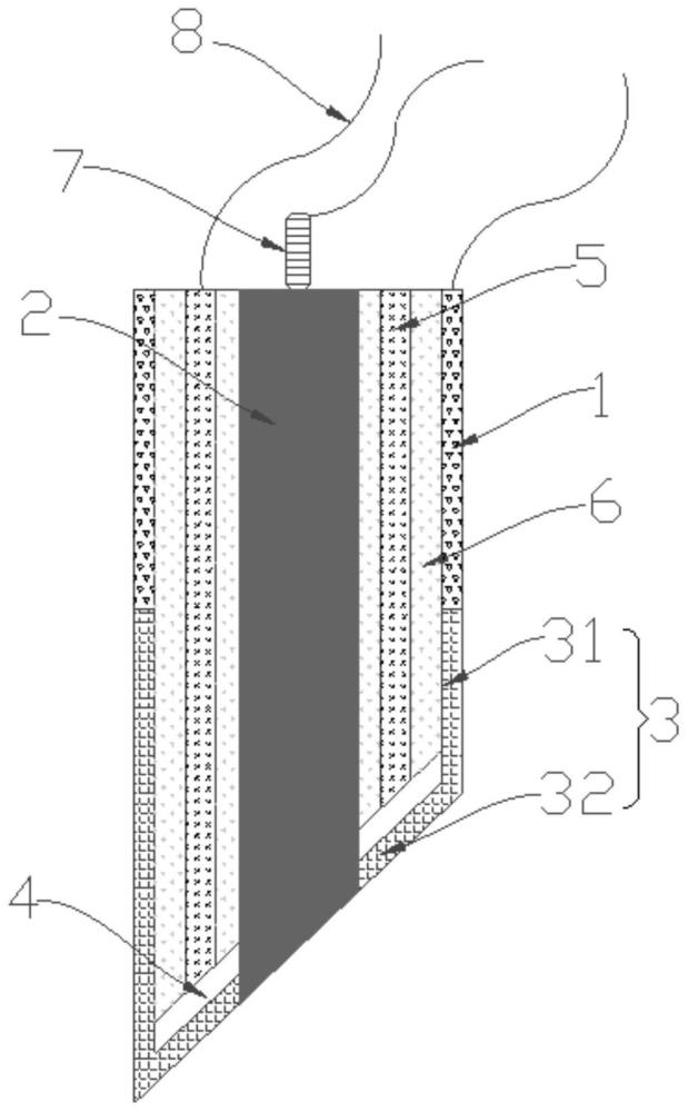
| 摘要: | 本发明公开了一种微针阵列酶复合电极及其制备方法,属于生物医学技术领域。所述的微针阵列酶复合电极,包括:衬底;阵列于衬底上的空心微针;位于空心微针外侧面的参比电极;位于空心微针中部的微针中部的对电极;位于参比电极、对电极之间的酶工作电极;所述参比电极、对电极、酶工作电极之间设有阻隔层。通过在空心微针外侧面设置参比电极,在空心微针中部设置对电极,在参比电极、对电极之间设置酶工作电极,使所述的酶工作电极与对电极距离近,能够减少工作电极与对电极之间的电阻;同时,通过缩短电极间的距离,能够减少分子在两个电极之间的扩散距离,能够有效的提高检测电流灵敏度,从而实现高灵敏度的局部分析物浓度测定。 | ||||
| 补充信息 | |||||
| 转让方式: | 成熟度: | 预估价值: | |||
| 市场前景: | |||||