样品
成果详情
| 项目简介 | |||||
|---|---|---|---|---|---|
| 技术简介: | |||||
| 专利类型: | 实用新型 | 专利申请号: | CN201621026350.6 | 公开号: | CN206355430U |
| 专利权人: | 南方医科大学南方医院 | 发明设计人: | 鲍铭;梁洁;王冉;李胜龙 | ||
| 所属领域: | |||||
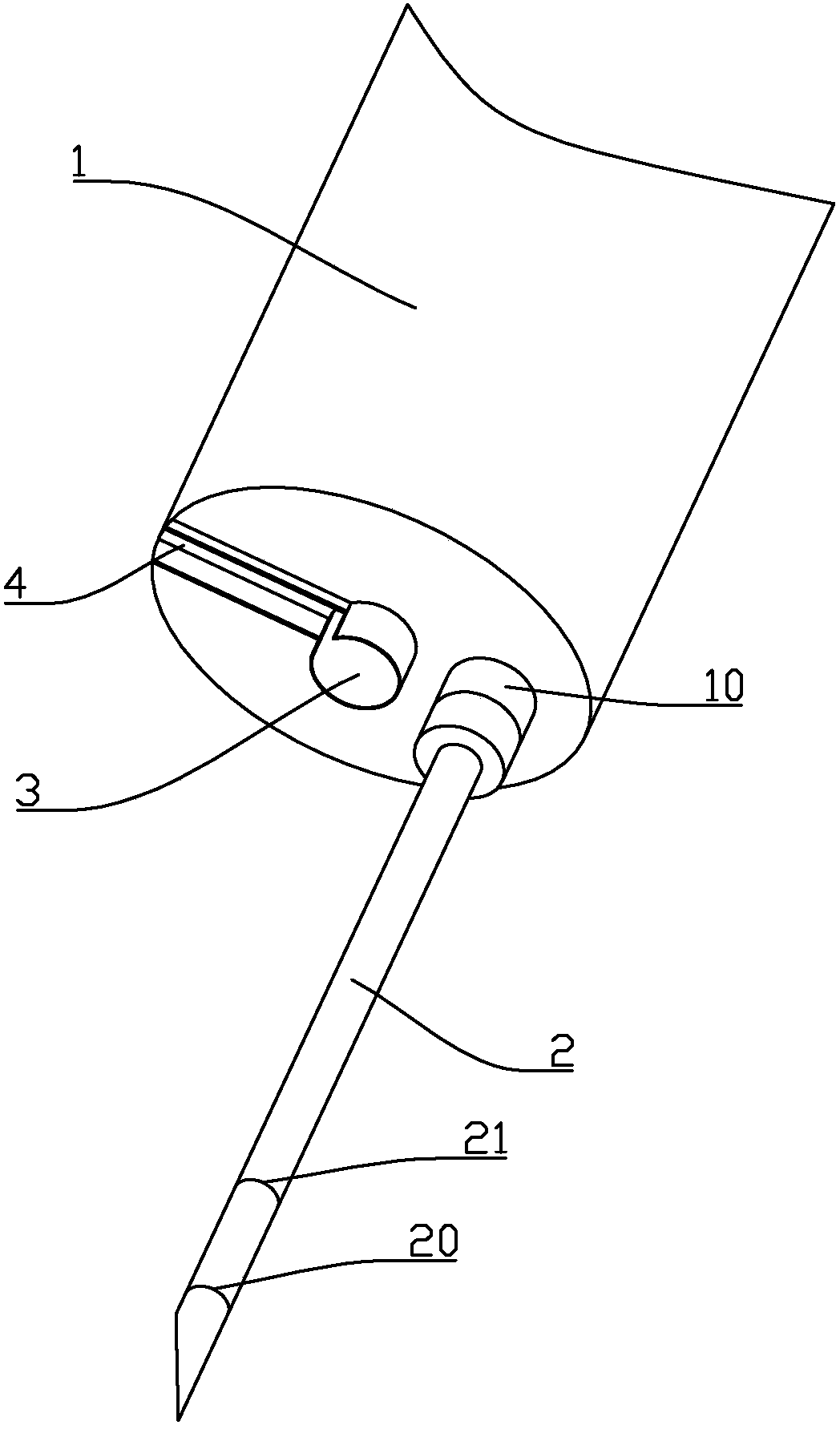
| 摘要: | 本实用新型公开了内痔注射疗法注射器,其包括针筒和扣在针筒上的针头,所述针筒的下端面设置有冷光源光纤的圆形嵌槽,所述针头的前端设置有第一刻度线和第二刻度线。通过将冷光源光纤嵌在圆形嵌槽后,冷光源光纤的头朝向针头的针尖,并在针头上设置第一刻度线和第二刻度线,采用本实用新型进行内痔注射疗法,通过冷光源光纤从冷光源发生器那边将光传导过来,在光源的照射下可以较准确的将药液注入到适宜的治疗深度,也可较好的观察注药是否充分,医师操作简单方便,更可提高注射的治疗效果。 | ||||
| 补充信息 | |||||
| 转让方式: | 成熟度: | 预估价值: | |||
| 市场前景: | |||||