样品
成果详情
| 项目简介 | |||||
|---|---|---|---|---|---|
| 技术简介: | |||||
| 专利类型: | 实用新型 | 专利申请号: | CN202220032739.0 | 公开号: | CN216676223U |
| 专利权人: | 南方医科大学珠江医院 | 发明设计人: | 杨婷;杨天晴;刘巧兰;杨娟;丁晨;梁启威;何思芸 | ||
| 所属领域: | |||||
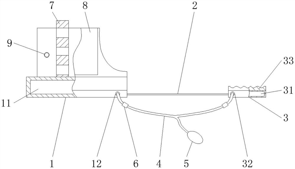
| 摘要: | 本实用新型公开了一种可调节踝关节保护器。一种可调节踝关节保护器,包括脚垫,在所述脚垫的前端设有连接绳,所述连接绳的另一端设有能够放置在患者膝下或大腿后部的抬高垫,在所述脚垫内设有第一充气腔,所述抬高垫内设有第二充气腔,所述第一充气腔和第二充气腔均通过一充气管与一充气球囊连接,在靠近所述第一充气腔、第二充气腔的充气管上均设有阀门,在远离所述连接绳的脚垫上垂直设有脚踏板,在靠近该脚踏板的脚垫上沿长度方向设有夹板组件,所述夹板组件上设有能够调整夹板组件内夹持间距的调节组件。本实用新型一种可调节踝关节保护器,使用方便,提高了患者的舒适感,能够有效保护患者的踝关节和提高护理效果。 | ||||
| 补充信息 | |||||
| 转让方式: | 成熟度: | 预估价值: | |||
| 市场前景: | |||||