样品
成果详情
| 项目简介 | |||||
|---|---|---|---|---|---|
| 技术简介: | |||||
| 专利类型: | 实用新型 | 专利申请号: | CN202421016536.8 | 公开号: | CN222549306U |
| 专利权人: | 南方医科大学珠江医院 | 发明设计人: | 磨凯 | ||
| 所属领域: | |||||
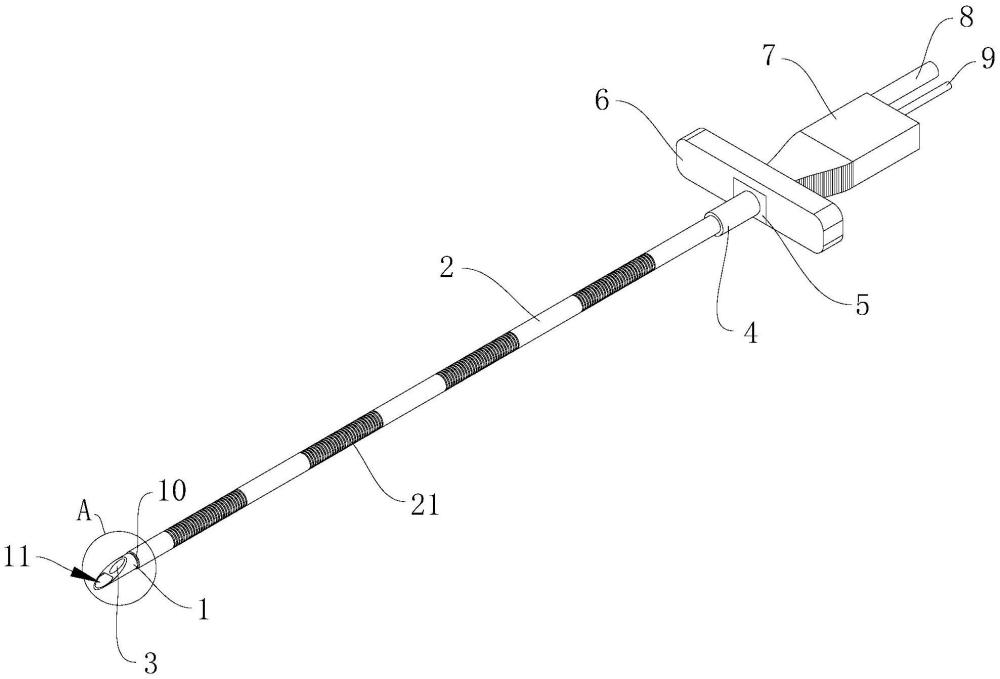
| 摘要: | 本实用新型公开了一种穿刺手术器械装置。其中,包括:针体,所述针体外侧固设有针套,所述针体内部分别设置有注射孔与激光光纤,所述针体的一端裸露于所述针套外部,另一端可拆卸地固设有光纤接头模块;所述针体外侧与产生电流的设备电连接,所述激光光纤与所述光纤接头模块电连接;通过针体对目标组织电刺激,定位神经组织和精确寻找诱发肿瘤痛的靶点组织,寻找到靶目标组织后,经安装孔置入激光光纤对靶目标组织进行激光消融,最后,需要对目标组织进行药物注射和水分离松解时,可通过注射孔将药液输送至目标组织;避免反复穿刺损伤和更换穿刺针等繁琐操作,缩短手术时间的同时能减少手术操作引起肿瘤转移的可能,最大限度保护原有神经。 | ||||
| 补充信息 | |||||
| 转让方式: | 成熟度: | 预估价值: | |||
| 市场前景: | |||||