样品
成果详情
| 项目简介 | |||||
|---|---|---|---|---|---|
| 技术简介: | |||||
| 专利类型: | 实用新型 | 专利申请号: | CN202223099988.0 | 公开号: | CN218979009U |
| 专利权人: | 南方医科大学珠江医院 | 发明设计人: | 邓增礼;崔春晖 | ||
| 所属领域: | |||||
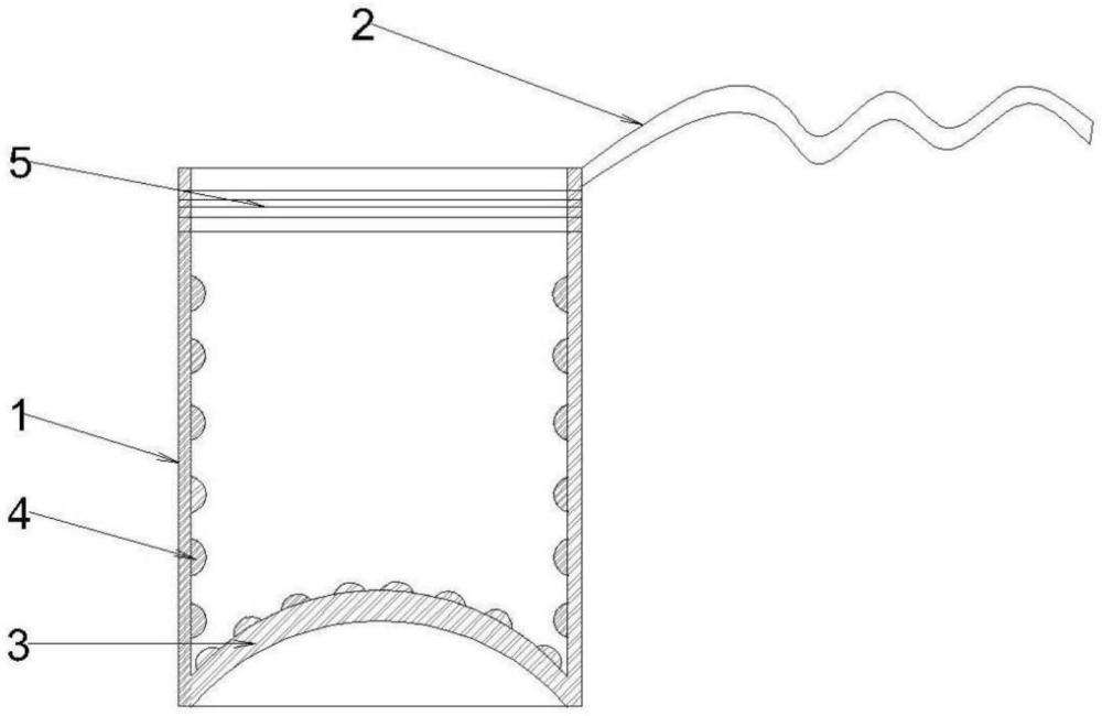
| 摘要: | 本实用新型公开了一种腹腔镜下阑尾标本袋,包括袋体,该袋体用于装放阑尾标本,在所述袋体的袋口内壁设有封条,在所述袋体袋口外侧的一端设有把手,在所述袋体的底部延伸设有一向袋体内部拱起的凸起部,以及,在所述袋体的内壁及所述凸起部上均延伸设有若干个凸起颗粒而形成用于容纳定位阑尾标本的容纳腔。本实用新型具有便于对袋体内的阑尾标本进行定位,方便医护人员快速取出阑尾标本等优点。 | ||||
| 补充信息 | |||||
| 转让方式: | 成熟度: | 预估价值: | |||
| 市场前景: | |||||