样品
成果详情
| 项目简介 | |||||
|---|---|---|---|---|---|
| 技术简介: | |||||
| 专利类型: | 实用新型 | 专利申请号: | CN202120564565.8 | 公开号: | CN214857096U | 
| 专利权人: | 南方医科大学南方医院 | 发明设计人: | 朱菲菲 | ||
| 所属领域: | |||||
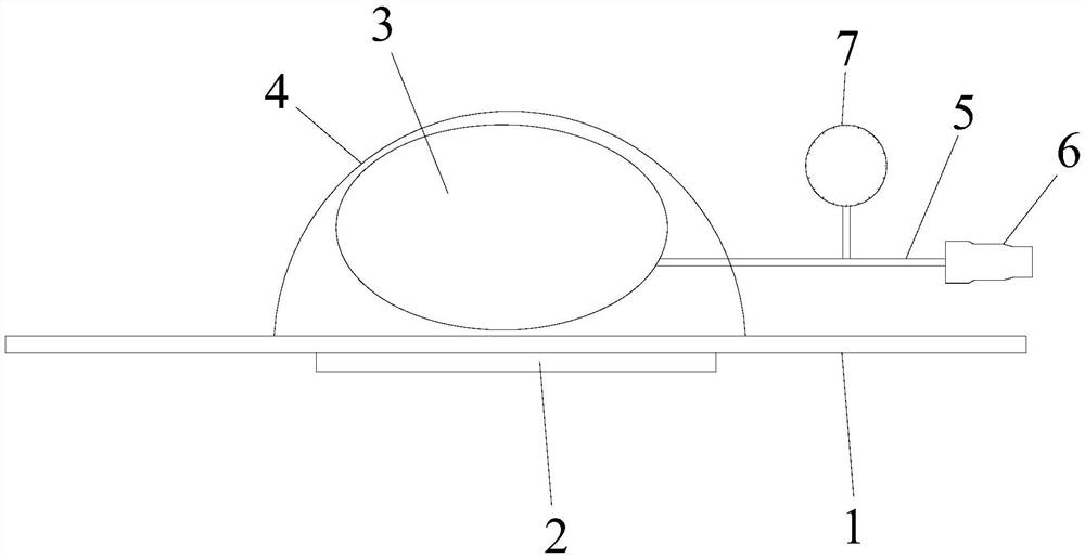
| 摘要: | 本实用新型公开了一种Tips术后颈静脉气囊压迫器,包括用于黏贴固定在皮肤表面的柔软的黏性底盘,所述黏性底盘的下表面固定有穿刺口敷料,黏性底盘上表面放置有充气球囊,黏性底盘上表面固定有用于压迫充气球囊使充气球囊向下压迫穿刺口的硬质挤压部,充气球囊通过贯穿伸出硬质挤压部外的充气管道连接至一充气阀。本实用新型的Tips术后颈静脉气囊压迫器压迫时间短,压迫到位,压迫止血效果好,不存在对颈部过紧或过松的问题,因此不会对血液循环和止血效果造成影响,减少了医护人员工作量,也不会引起颈部皮下血肿和影响呼吸道气体交换,降低了临床护理难度,提高了患者舒适度。 | ||||
| 补充信息 | |||||
| 转让方式: | 成熟度: | 预估价值: | |||
| 市场前景: | |||||