样品
成果详情
| 项目简介 | |||||
|---|---|---|---|---|---|
| 技术简介: | |||||
| 专利类型: | 实用新型 | 专利申请号: | CN202420818213.4 | 公开号: | CN222172496U |
| 专利权人: | 南方医科大学南方医院 | 发明设计人: | 文牡;廖卫华 | ||
| 所属领域: | |||||
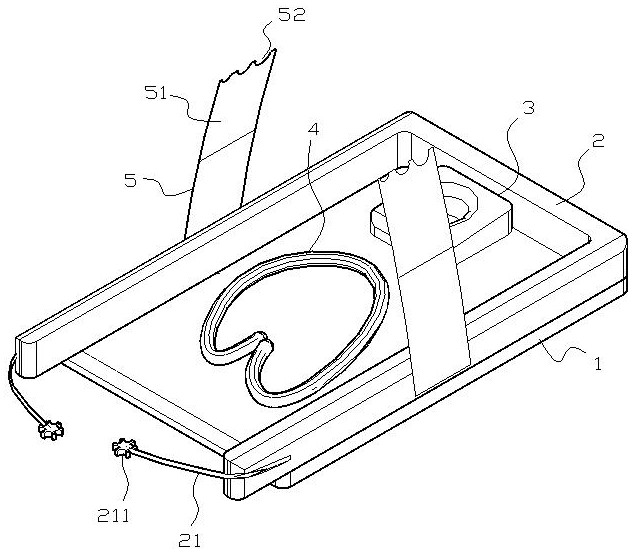
| 摘要: | 本实用新型涉及早产儿乳胶床领域,尤其涉及一种早产儿防压疮乳胶床,该乳胶床可解决背景技术中防压水床不便拆装清洗维护、不便婴儿侧卧以及侧面没有设置防滑结构导致婴儿易从床体滑落的问题。包括底部的床体,所述床体上侧设有后侧开口的围挡,围挡呈n形结构,围挡底面前半部分与床体上表面设有相互配合的第一粘扣带,围挡后侧两端部分别设有系绳;床体前端部上表面可拆卸设有对头部限位的头枕;头枕后侧的床体上设有可塑形的便于婴儿侧卧的限位结构;围挡左右两部分中间位置设有相互配合且可调节松紧的包裹结构。它操作简单,使用方便,适用于多种患儿。 | ||||
| 补充信息 | |||||
| 转让方式: | 成熟度: | 预估价值: | |||
| 市场前景: | |||||