样品
成果详情
| 项目简介 | |||||
|---|---|---|---|---|---|
| 技术简介: | |||||
| 专利类型: | 实用新型 | 专利申请号: | CN202422436948.3 | 公开号: | CN223352518U |
| 专利权人: | 南方医科大学南方医院 | 发明设计人: | 项小军;林小钰;李致兴;李娜;王君兰;孙树梅 | ||
| 所属领域: | |||||
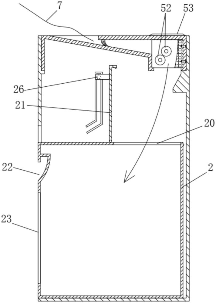
| 摘要: | 本实用新型公开了一种导丝类医疗废物自动破碎机,包括桶体,桶体的顶部设有第二开口,桶体的侧壁设有第一开口;桶体的第二开口处设有桶盖,桶盖上设有依次连通的进料口和斜向通道,斜向通道的末端设有破碎机构;桶体的第一开口处设有与其滑动配合且可抽出的锐器盒。本实用新型导丝类医疗废物自动破碎机,核心优势在于能够在医疗废物产生的源头立即进行破碎处理,再由专业的无害化处理中心统一回收并进行焚烧处理。此流程有效避免了导丝缠绕、卡住炉排或在炉膛内形成难以处理的钢丝网、团块等问题,从而显著降低了停炉维修现象和风险,最终确保了医疗废物处置设备的长期稳定运行。 | ||||
| 补充信息 | |||||
| 转让方式: | 成熟度: | 预估价值: | |||
| 市场前景: | |||||