样品
成果详情
| 项目简介 | |||||
|---|---|---|---|---|---|
| 技术简介: | |||||
| 专利类型: | 实用新型 | 专利申请号: | CN202020426451.2 | 公开号: | CN212662132U |
| 专利权人: | 南方医科大学南方医院 | 发明设计人: | 王芬;吴起;付焰 | ||
| 所属领域: | |||||
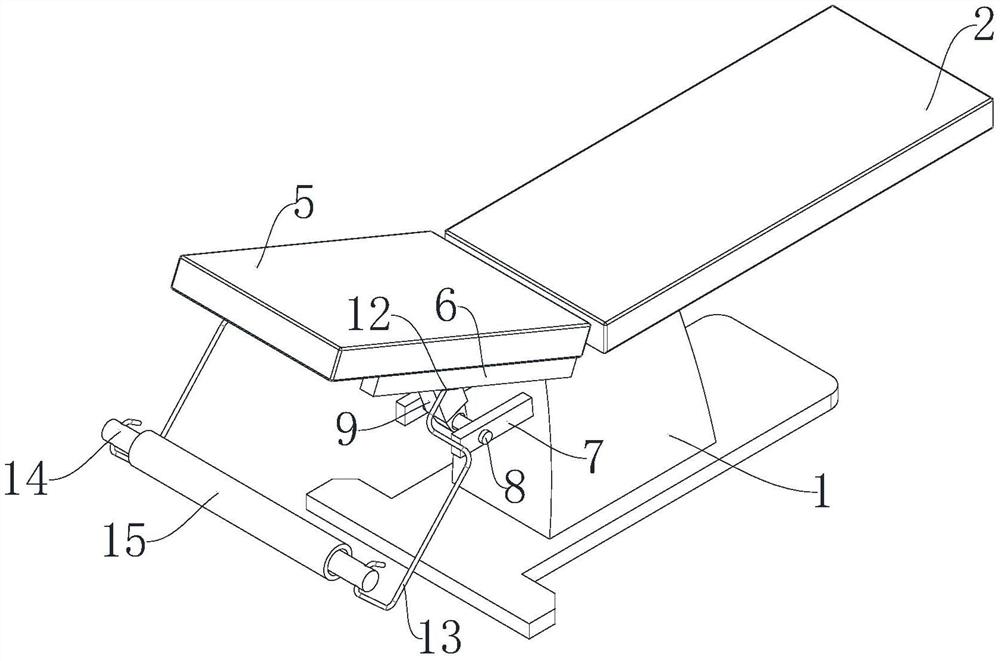
| 摘要: | 本实用新型公开了一种病房用治疗床,包括底架、固定床板、翻转支架、翻转轴、折叠床头板、连接柱、安装架、气缸转轴、气缸、连接铰链、铰链安装板、固定片、连接架、卷筒和卷纸;该病房用治疗床创新性的在折叠床头板的下方的左右两侧安装了连接柱,并在连接柱上安装固定片,以及在固定片上安装了连接架,同时在连接架上安装了卷筒,卷筒用于安装卷纸,在使用时,位于卷筒上的卷纸可以抽出来直接铺在床上面,每一个病人更换一次纸张。就像换床单一样非常方便实用,而且该病房用治疗床为了实现折叠床头板的可翻转功能,在折叠床头板下方设计了与气缸相连的连接铰链和气缸转轴,以及在折叠床头板和底架之间通过翻转轴和翻转支架连接,非常实用方便。 | ||||
| 补充信息 | |||||
| 转让方式: | 成熟度: | 预估价值: | |||
| 市场前景: | |||||