样品
成果详情
| 项目简介 | |||||
|---|---|---|---|---|---|
| 技术简介: | |||||
| 专利类型: | 实用新型 | 专利申请号: | CN202021024996.7 | 公开号: | CN212940381U |
| 专利权人: | 南方医科大学南方医院 | 发明设计人: | 杨赛芳;廖卫华;吴薇;李园芳;冯苏敏 | ||
| 所属领域: | |||||
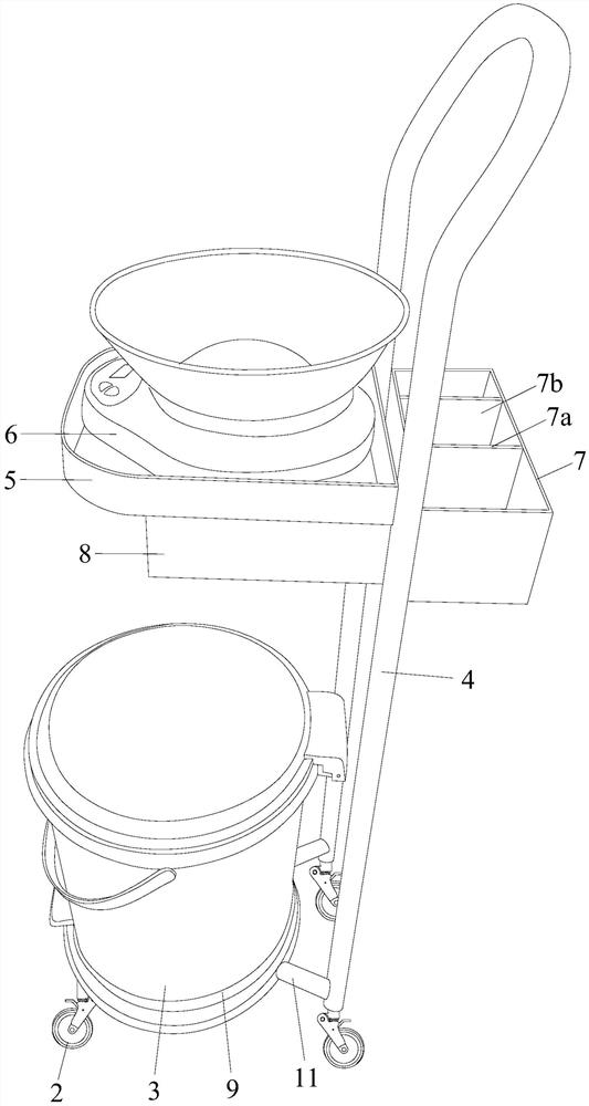
| 摘要: | 本实用新型公开了一种尿布车,包括底座,所述底座的底部安装有可刹车式万向轮,底座的上侧放置有感染性废弃物收集桶,底座在感染性废弃物收集桶的后侧垂直连接有推拉扶手,推拉扶手的中部前侧固定有顶部敞口的置放盒,置放盒内放置有尿布秤,推拉扶手的中部后侧固定有顶部敞口的多格式置物盒。本实用新型的尿布车降低了医护人员的工作量。 | ||||
| 补充信息 | |||||
| 转让方式: | 成熟度: | 预估价值: | |||
| 市场前景: | |||||