样品
成果详情
| 项目简介 | |||||
|---|---|---|---|---|---|
| 技术简介: | |||||
| 专利类型: | 实用新型 | 专利申请号: | CN202120347867.X | 公开号: | CN214966777U |
| 专利权人: | 南方医科大学珠江医院 | 发明设计人: | 甘桂英;胡丽娟;徐颖 | ||
| 所属领域: | |||||
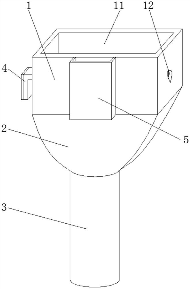
| 摘要: | 本实用新型公开了一种挂壁式锐器投放器。一种挂壁式锐器投放器,包括投放槽,在所述投放槽的顶部设有投放口,所述投放槽的底部连接有漏斗状的引导槽,该引导槽的底部连接有能够伸入外设锐器盒的引导筒,在所述投放槽的前面外壁设有剪刀放置盒,在所述投放槽的侧面外壁可拆卸装设有能够粘贴在墙壁上的挂件。本实用新型一种挂壁式锐器投放器,使用方便和有利于医护人员顺利投放锐器。 | ||||
| 补充信息 | |||||
| 转让方式: | 成熟度: | 预估价值: | |||
| 市场前景: | |||||