样品
成果详情
| 项目简介 | |||||
|---|---|---|---|---|---|
| 技术简介: | |||||
| 专利类型: | 发明 | 专利申请号: | CN202111413260.8 | 公开号: | CN114081519A |
| 专利权人: | 南方医科大学珠江医院 | 发明设计人: | 李菀丹;徐娟利;凌玲;朱胜权 | ||
| 所属领域: | |||||
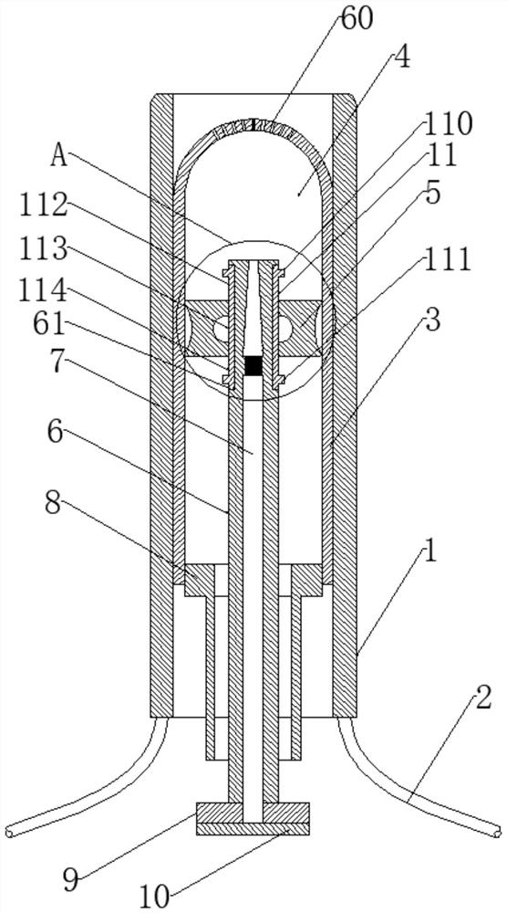
| 摘要: | 本发明公开了一种用于宫颈癌外照射定位及放置造影剂阴道显影的装置,包括筒体、注射筒、柱塞密封件和内柱体,筒体的两端均为开口端,注射筒可移动的设于所述筒体的内侧,注射筒的一端为开口端,注射筒的另一端为封闭端,注射筒的封闭端设有多个通孔,内柱体的一端安装有定位套筒,柱塞密封件套设于所述定位套筒的外侧,柱塞密封件还设于注射筒内,定位套筒由注射筒的封闭端至开口端依次设有松动段、定位段和挤压段,内柱体的内侧设有延伸至两端的导入通道,与挤压段对应的导入通道采用多个圆孔组成,与注射筒的一端还设有用于驱动注射筒沿筒体内侧移动的机构。本发明可以让患者减少不适感,在扫描过程不易脱出,提高放疗准确性,提高工作效率。 | ||||
| 补充信息 | |||||
| 转让方式: | 成熟度: | 预估价值: | |||
| 市场前景: | |||||