样品
成果详情
| 项目简介 | |||||
|---|---|---|---|---|---|
| 技术简介: | |||||
| 专利类型: | 实用新型 | 专利申请号: | CN202422004771.X | 公开号: | CN223350361U |
| 专利权人: | 南方医科大学南方医院 | 发明设计人: | 吴远;游杰;钟巍;杨雅洁;侯名月 | ||
| 所属领域: | |||||
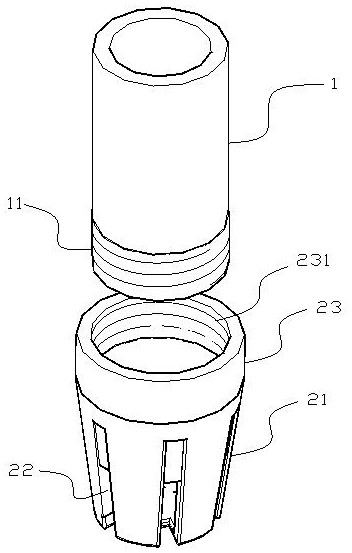
| 摘要: | 本实用新型涉及牙科吸唾管领域,尤其涉及一种多功能牙科用吸唾管,该吸唾管吸唾头与管体采用螺纹分体结构,可更换不同吸唾头,有效解决背景技术中提出的问题。包括管体,所述管体前端部固定设有外螺纹接头,与外螺纹接头配合可拆卸设有三个吸唾头,分别为小口径吸引头、大口径吸引头和根管用吸引头。所述管体后端外侧固定设有环形凸起。它操作简单,使用方便,适用于多种牙科治疗。 | ||||
| 补充信息 | |||||
| 转让方式: | 成熟度: | 预估价值: | |||
| 市场前景: | |||||