样品
成果详情
| 项目简介 | |||||
|---|---|---|---|---|---|
| 技术简介: | |||||
| 专利类型: | 实用新型 | 专利申请号: | CN202322211445.1 | 公开号: | CN220305320U |
| 专利权人: | 南方医科大学深圳医院 | 发明设计人: | 徐建国;朱颖;窦守坤 | ||
| 所属领域: | |||||
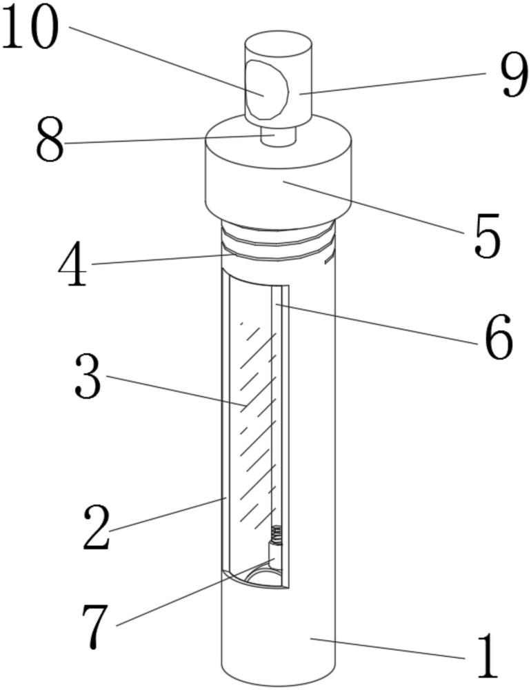
| 摘要: | 本实用新型涉及粪便检测技术领域,尤其为一种粪便检测试剂盒,包括试管,所述试管外表面前部开有内外穿通的固定槽,所述固定槽内壁面固定连接有透明玻璃,所述试管外表面上部刻有一号外螺纹槽,所述试管外表面上部通过一号外螺纹槽螺纹连接有连接组件,所述连接组件上内壁面套接有套接组件,所述套接组件下端螺纹连接有收集组件,所述连接组件上端中部固定连接有固定块,所述固定块上端固定连接有旋转头。本实用新型所述的一种粪便检测试剂盒,通过设置连接组件,在试管的外表面设置有一号外螺纹槽,旋盖的内壁面设置有一号内螺纹槽,利用一号外螺纹槽和一号内螺纹槽的作用将旋盖与试管螺纹连接在一起,这种连接方法连接稳定性较高,实用有效。 | ||||
| 补充信息 | |||||
| 转让方式: | 成熟度: | 预估价值: | |||
| 市场前景: | |||||