样品
成果详情
| 项目简介 | |||||
|---|---|---|---|---|---|
| 技术简介: | |||||
| 专利类型: | 实用新型 | 专利申请号: | CN202023001976.0 | 公开号: | CN215129391U |
| 专利权人: | 南方医科大学南方医院 | 发明设计人: | 许波;罗小琴;梁钥;蒋琳;赖晶;莫晓琼 | ||
| 所属领域: | |||||
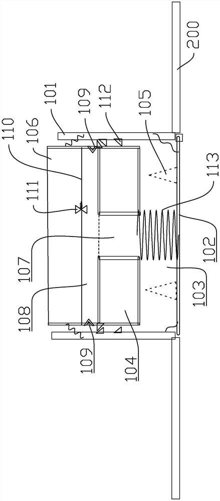
| 摘要: | 本实用新型公开了一种按压组件及应用其的止血装置,按压组件包括外壳、储存装置、弹性件和至少一个穿刺部,外壳的底部设置有按压板,储存装置可上下移动地安装在外壳中,储存装置的底部与按压板之间构成反应腔,反应腔用于储存参与制冷反应的固态物质,储存装置中设置有至少一个储存格,储存格用于储存参与制冷反应的溶液一,穿刺部设置按压板上,穿刺部用于刺破储存格的底部,弹性件设置在按压板上,弹性件用于抵住储存装置。按压储存装置,穿刺部将储存格刺破,溶液一和固态物质反应制冷,透过按压板对出血位置冷敷,加快止血,防止出现淤血,利用压缩的弹性件可使按压板贴住出血位置。本实用新型可广泛应用于医疗器械技术领域。 | ||||
| 补充信息 | |||||
| 转让方式: | 成熟度: | 预估价值: | |||
| 市场前景: | |||||