样品
成果详情
| 项目简介 | |||||
|---|---|---|---|---|---|
| 技术简介: | |||||
| 专利类型: | 实用新型 | 专利申请号: | CN202220650058.0 | 公开号: | CN217409425U | 
| 专利权人: | 南方医科大学南方医院 | 发明设计人: | 张静;吴婷婷 | ||
| 所属领域: | |||||
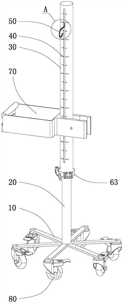
| 摘要: | 本申请提出一种灌肠用输液架,灌肠用输液架包括底座、下杆、上杆、刻度指示结构和挂钩,下杆安装在底座上,上杆安装在下杆上,上杆能够沿下杆移动,刻度指示结构沿上杆的长度方向布置在上杆的表面,挂钩安装在上杆上,挂钩能够沿上杆移动。灌肠时,首先调节上杆的高度,使刻度指示结构中的基准与患者的肛门高度平齐,随后依据刻度指示结构调节挂钩的高度,使灌肠液面与肛门的高度差达到预定值,之后对患者进行灌肠,通过设置可移动的上杆使得刻度指示结构的基准能够精确调节,通过设置可移动的挂钩使得灌肠液面的高度能够精确调节,灌肠用输液架能够提高灌肠袋高度控制的精确性。 | ||||
| 补充信息 | |||||
| 转让方式: | 成熟度: | 预估价值: | |||
| 市场前景: | |||||