样品
成果详情
| 项目简介 | |||||
|---|---|---|---|---|---|
| 技术简介: | |||||
| 专利类型: | 发明 | 专利申请号: | CN202410870849.8 | 公开号: | CN118403303A |
| 专利权人: | 南方医科大学南方医院 | 发明设计人: | 吴振明;邹金华;叶锡渠;刘欢欢;陈明铭;牛花蕊;张文琪;官键;齐宏亮 | ||
| 所属领域: | |||||
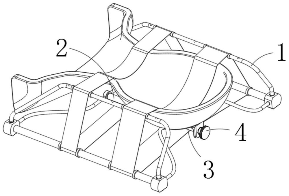
| 摘要: | 本发明提供一种用于放射治疗中的头颈部发泡胶固定设备及其方法,属于放射治疗器具技术领域。包括骨架、颈部调高单元、头部调高单元和驱动限位单元;所述骨架用于对所述颈部调高单元、所述头部调高单元和所述驱动限位单元支撑;并且头颈部发泡胶放置在所述骨架上;所述颈部调高单元用于对患者颈部位于颈部发泡胶位置处的高度调节。本发明通过设置骨架、颈部调高单元、头部调高单元和驱动限位单元,结构简单,便于生产加工制造,且方便组装,同时能够实现分别对颈部和头部的高度调节,操作简单,减低了操作人员的工作量,对称位置处调节高度一致性较好,颈部调高带和头部调高带为带状结构,相对比现有柱体结构支撑,具有更好的舒适性。 | ||||
| 补充信息 | |||||
| 转让方式: | 成熟度: | 预估价值: | |||
| 市场前景: | |||||