样品
成果详情
| 项目简介 | |||||
|---|---|---|---|---|---|
| 技术简介: | |||||
| 专利类型: | 实用新型 | 专利申请号: | CN202021280770.3 | 公开号: | CN213157779U |
| 专利权人: | 南方医科大学南方医院 | 发明设计人: | 郭萍;黄榕;郭亚云;陈宝梅;曾嘉 | ||
| 所属领域: | |||||
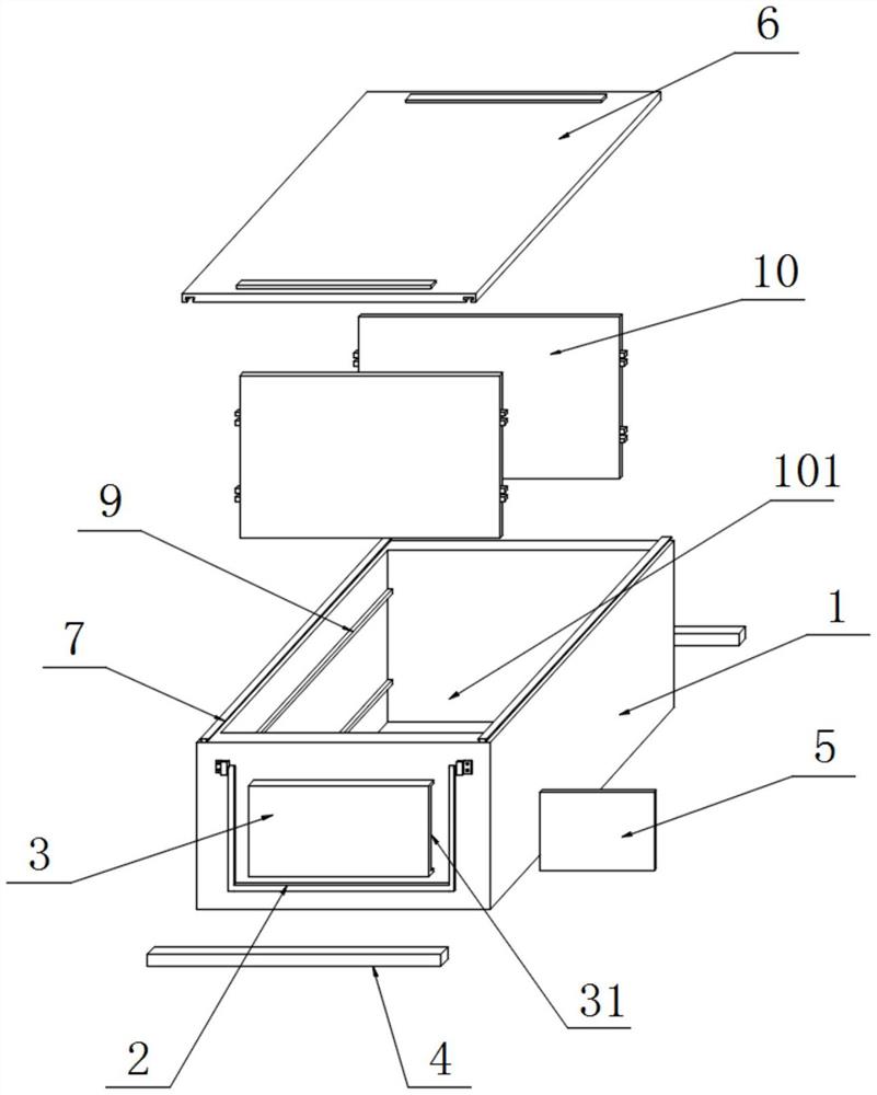
| 摘要: | 本实用新型公开了一种医用冰箱储药盒,具体涉及储药盒领域,包括盒体,所述盒体两端部外壁均活动连接有手柄,且盒体的一个端部位于手柄的内侧设置有透明罩,所述透明罩的内部设置有卡槽,所述卡槽的内部放置有标签,所述盒体的两端底部位于手柄的下方位置处均设置有防护垫,所述盒体的顶端连接有盖板,且盒体的内部设置有放置腔。本实用新型设计的储药盒结构合理,使用方便,便于在放置时避免盒体的底部边角处受到碰撞受损,且便于盖板稳定的卡在盒体的上方,避免了整个打开造成灰尘落入盒体内部影响药物的问题,并能够对放置腔的内部放置的药物进行隔开,使药物整齐放置,避免放置不同的药物造成放置腔的内部杂乱影响使用者找寻药物。 | ||||
| 补充信息 | |||||
| 转让方式: | 成熟度: | 预估价值: | |||
| 市场前景: | |||||