样品
成果详情
| 项目简介 | |||||
|---|---|---|---|---|---|
| 技术简介: | |||||
| 专利类型: | 实用新型 | 专利申请号: | CN202420858405.8 | 公开号: | CN222815865U | 
| 专利权人: | 南方医科大学南方医院 | 发明设计人: | 李启璠;李娜 | ||
| 所属领域: | |||||
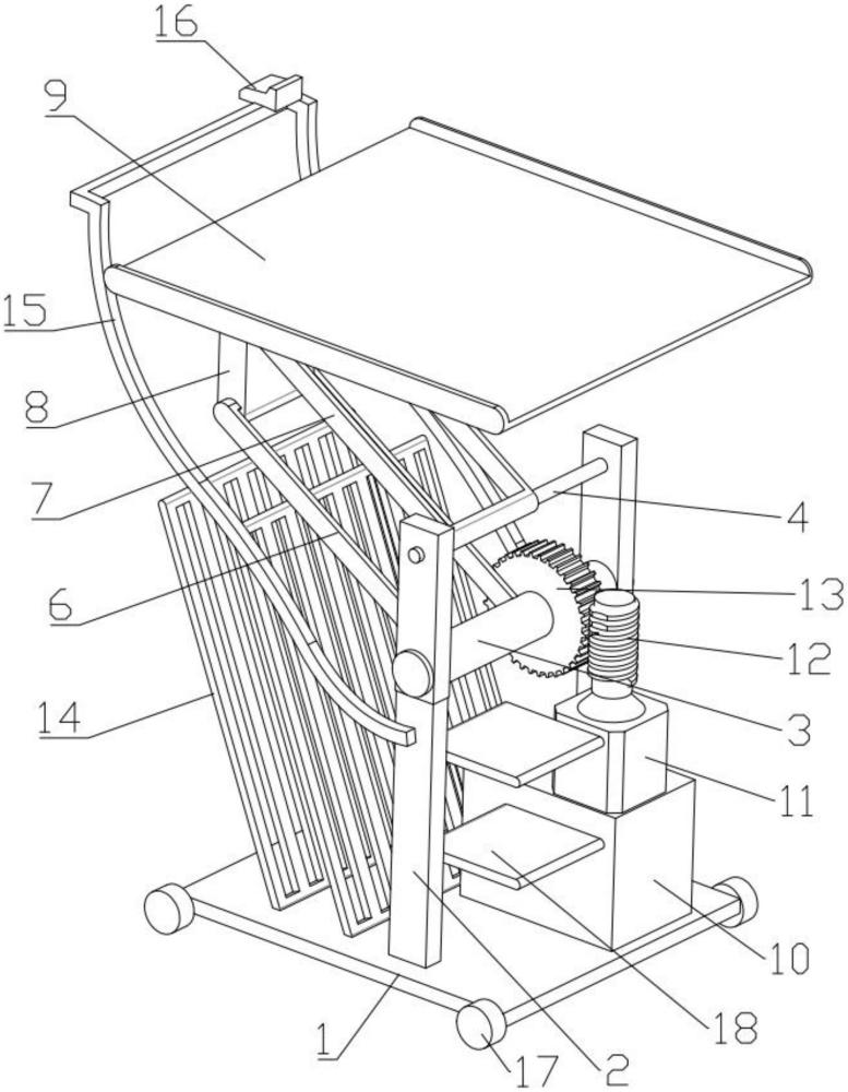
| 摘要: | 本实用新型公开了一种手术室护理托盘架:包括底部支撑架体,底部支撑架体上设有立柱体;立柱体的中上部转动设有下部核心轴体,立柱体的顶部固定设有上部核心轴体,下部核心轴体固定设有下部架体,下部核心轴体上转动设有上部架体,下部架体的末端和上部架体的末端转动设有侧部板体,侧部板体上设有托盘架架体,减速电机上固定设有蜗杆,下部核心轴体上固定设有蜗轮,蜗杆和蜗轮相互配合,使用者便于调整托盘架架体的高度;使用控制器控制减速电机转动,实现让上部核心轴体转动,从而让侧部板体向上或向下移动,从而实现调整托盘架架体高度的调整;便于推动本装置移动,便于移动;便于把不常用的托盘放置在辅助护理托盘支架上,并且便于放置。 | ||||
| 补充信息 | |||||
| 转让方式: | 成熟度: | 预估价值: | |||
| 市场前景: | |||||