样品
成果详情
| 项目简介 | |||||
|---|---|---|---|---|---|
| 技术简介: | |||||
| 专利类型: | 实用新型 | 专利申请号: | CN202220078718.2 | 公开号: | CN217030295U | 
| 专利权人: | 南方医科大学南方医院 | 发明设计人: | 姚琳;钟超;叶桂荣 | ||
| 所属领域: | |||||
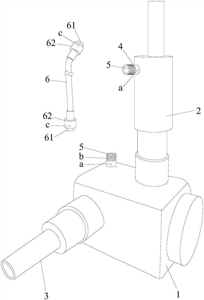
| 摘要: | 本实用新型公开了一种带螺旋嘴接头的一氧化氮配气装置,包括主体,所述主体的上侧面朝上垂直延伸有上延伸管,主体的前侧面朝前垂直延伸有前延伸管,上延伸管的前侧朝前垂直延伸有接口一,主体的上侧面在上延伸管旁朝上垂直延伸有接口二,接口一和接口二通过一气管连接,其特征在于:所述接口一和接口二均在外壁上设置有外螺纹,气管的两端包括分别插入接口一和接口二内的插接部和环绕在插接部外围的套体,套体的内壁有与外螺纹螺纹配合的内螺纹。本实用新型的带螺旋嘴接头的一氧化氮配气装置可防止与一氧化氮混合装置连接的气管脱落。 | ||||
| 补充信息 | |||||
| 转让方式: | 成熟度: | 预估价值: | |||
| 市场前景: | |||||