样品
成果详情
| 项目简介 | |||||
|---|---|---|---|---|---|
| 技术简介: | |||||
| 专利类型: | 发明 | 专利申请号: | CN202411601060.9 | 公开号: | CN119138946A |
| 专利权人: | 南方医科大学南方医院 | 发明设计人: | 张洪宇;杨静华;崔小冰;李小丹 | ||
| 所属领域: | |||||
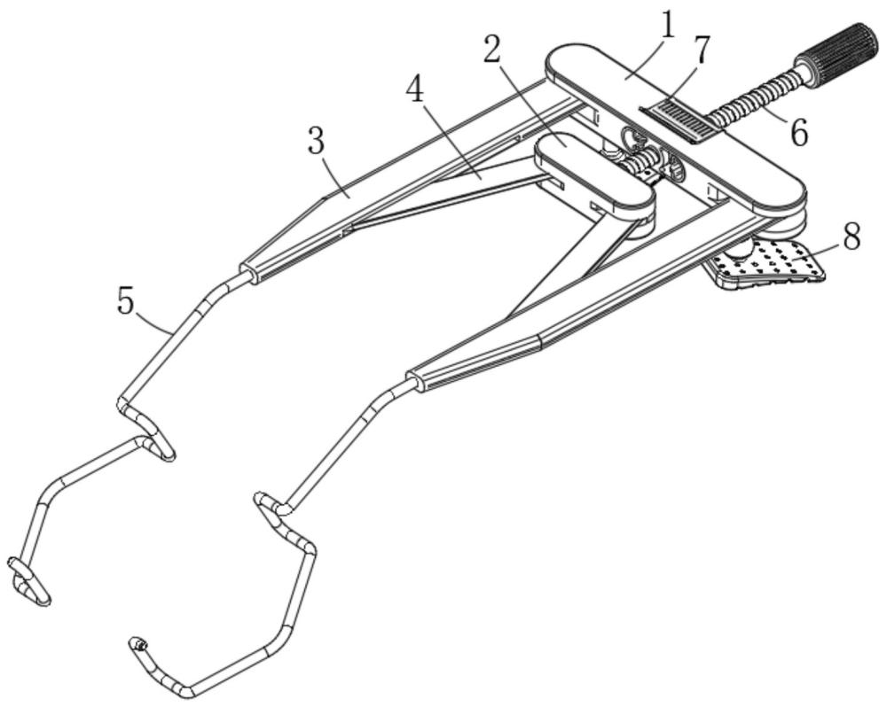
| 摘要: | 本发明提供一种眼科护理用眼睑撑开设备,属于医疗器械技术领域。包括固定架,所述固定架中套设螺纹杆,且所述固定架的两端活动连接有支撑臂,所述螺纹杆的一端延伸至所述固定架与所述支撑臂之间并通过轴承连接有调节座,所述调节座的两端均转动连接有撑杆,所述撑杆远离所述调节座的一端与所述支撑臂之间转动连接,所述支撑臂的末端固定连接有开睑钩。本发明通过设置支撑垫和关节球以及连接组件,让支撑垫和关节球能够通过连接组件与固定架之间形成连接固定,并依靠支撑垫和关节球来对整个眼睑撑开设备的固定架处进行支撑,减轻医护人员的劳动量并保证眼睑撑开设备在使用过程中的稳定。 | ||||
| 补充信息 | |||||
| 转让方式: | 成熟度: | 预估价值: | |||
| 市场前景: | |||||