样品
成果详情
| 项目简介 | |||||
|---|---|---|---|---|---|
| 技术简介: | |||||
| 专利类型: | 发明 | 专利申请号: | CN201510583093.X | 公开号: | CN105167875A |
| 专利权人: | 南方医科大学珠江医院 | 发明设计人: | 李婷;高毅 | ||
| 所属领域: | |||||
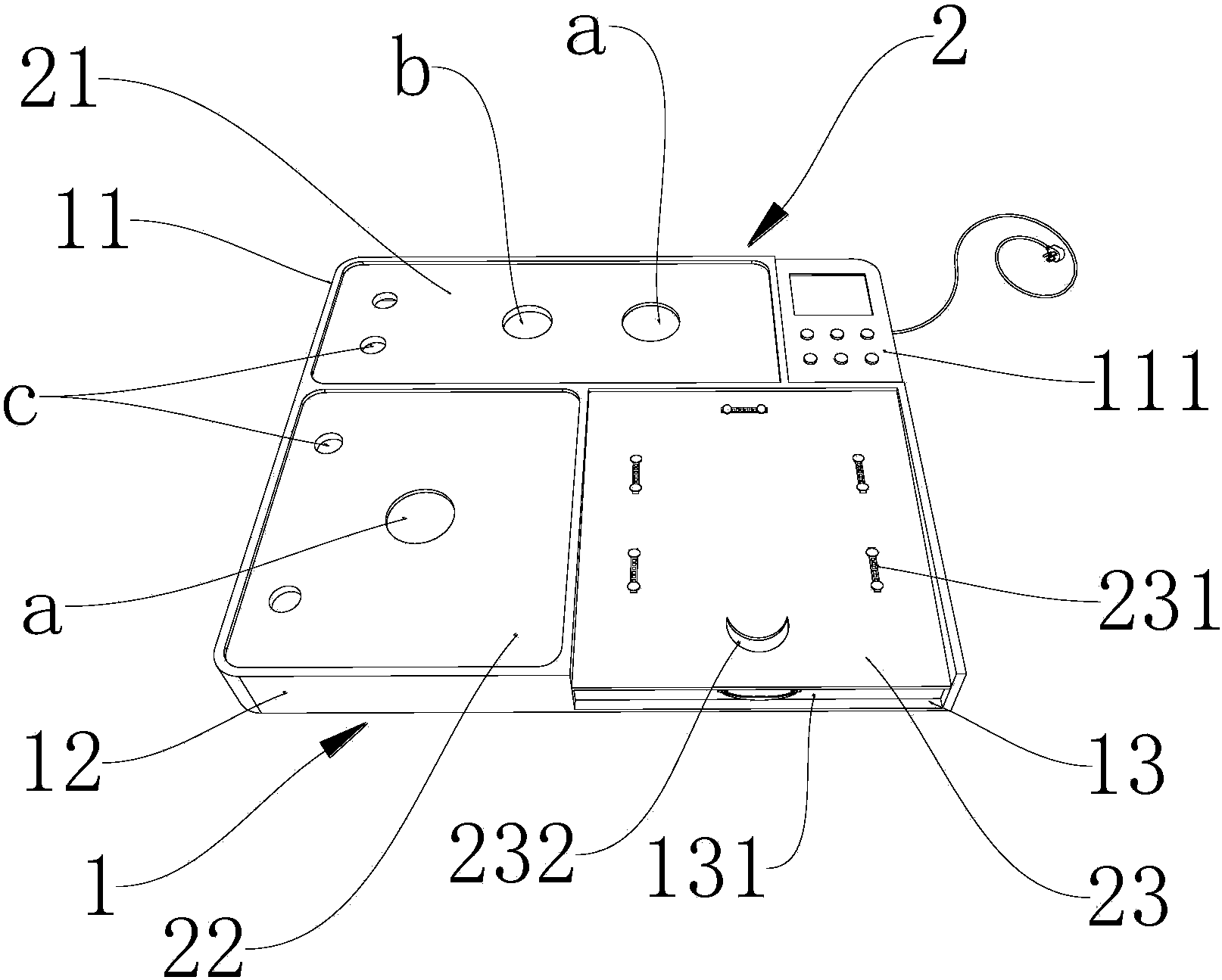
| 摘要: | 本发明公开一种小型动物手术台,其包括设有多个功能腔的腔体和盖合在所述腔体上的多个工作板体;所述功能腔包括热媒腔、冷媒腔和废液收集腔;所述工作板体包括盖合在所述热媒腔上方的热操作板、盖合在所述冷媒腔上方的冷操作板以及盖合在所述废液收集腔上方的手术操作板。本发明小型动物手术台将零散的实验室设备整合为一体,不仅节约空间,而且大大提高动物手术质量。 | ||||
| 补充信息 | |||||
| 转让方式: | 成熟度: | 预估价值: | |||
| 市场前景: | |||||