样品
成果详情
| 项目简介 | |||||
|---|---|---|---|---|---|
| 技术简介: | |||||
| 专利类型: | 实用新型 | 专利申请号: | CN202322174228.X | 公开号: | CN220757696U |
| 专利权人: | 南方医科大学南方医院 | 发明设计人: | 周娴;马云 | ||
| 所属领域: | |||||
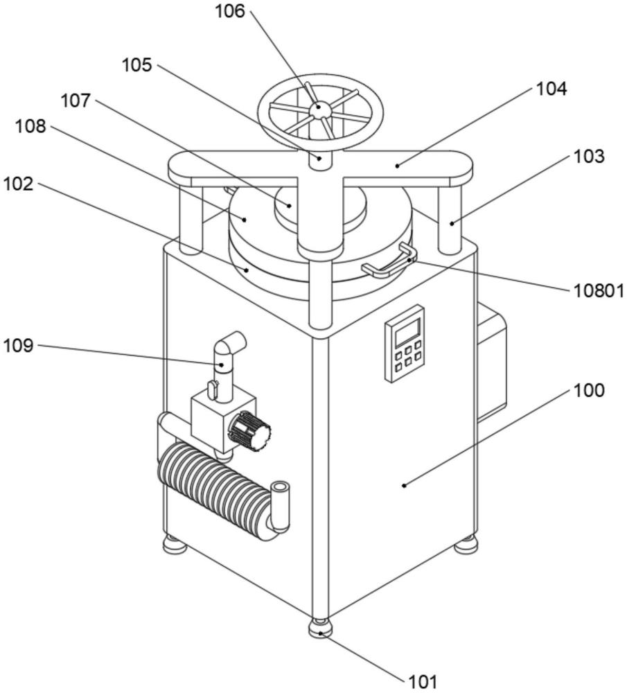
| 摘要: | 本实用新型提供了一种医疗器械消毒装置,属于医疗器械消毒技术领域。该种医疗器械消毒装置,包括机箱,机箱的顶端设有箱口,箱口的顶端设有箱盖,机箱的顶端四角均安装有立柱,立柱的顶端安装有顶架,顶架的顶端开设有螺纹孔,螺纹孔的内侧安装有螺纹杆,螺纹杆的底端转动连接有压板,压板的底端和箱盖的顶端相接触,螺纹杆的顶端安装有转把,机箱的一侧安装有排风机构,机箱的另一侧安装有进气机构,机箱的内侧底端安装有水箱,水箱的顶端开设有透气孔,水箱的底端安装有电热管,水箱的顶端设有放置架,放置架的两侧和机箱的内侧固定连接,本实用新型能有效实现快速通风散热,提高产品的散热效率,具有较高的实用价值。 | ||||
| 补充信息 | |||||
| 转让方式: | 成熟度: | 预估价值: | |||
| 市场前景: | |||||