样品
成果详情
| 项目简介 | |||||
|---|---|---|---|---|---|
| 技术简介: | |||||
| 专利类型: | 实用新型 | 专利申请号: | CN202021520373.9 | 公开号: | CN212830674U |
| 专利权人: | 南方医科大学南方医院 | 发明设计人: | 陈宝梅;黄榕;谢一色;徐丽;宋洁 | ||
| 所属领域: | |||||
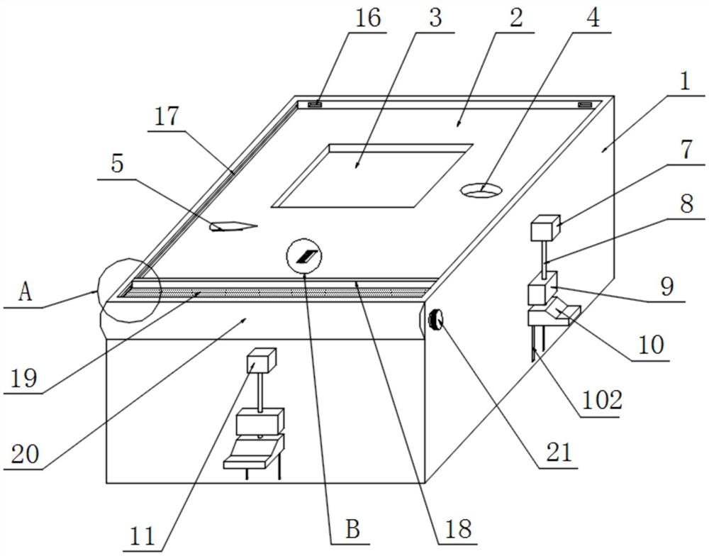
| 摘要: | 本实用新型公开了一种带切割功能的多功能锐器盒,具体涉及医疗辅助工具技术领域,包括盒体,所述盒体的顶部内侧壁设置有盒顶,所述盒顶的内部设置有大收集口,且盒顶的内部位于大收集口的一侧设置有第一开口,所述盒体的顶部边缘处设置有弧形壳,所述盒顶的内部靠近弧形壳的一侧设置有第二开口,且盒顶的内部位于第二开口的一侧设置有水滴状卡口。本实用新型可直接拆卸注射器、输液管和胰岛素笔等针头,且适用于不同尺寸的胰岛素笔针头、输液管针头和注射器针头,无需另备剪刀剪输液管针头和止血钳固定胰岛素笔针头,减少了医护人员的工具携带量,操作便捷、安全,大大降低了针刺伤的发生。 | ||||
| 补充信息 | |||||
| 转让方式: | 成熟度: | 预估价值: | |||
| 市场前景: | |||||