样品
成果详情
| 项目简介 | |||||
|---|---|---|---|---|---|
| 技术简介: | |||||
| 专利类型: | 实用新型 | 专利申请号: | CN202020529615.4 | 公开号: | CN213157445U |
| 专利权人: | 南方医科大学南方医院 | 发明设计人: | 陈佩娟;向航;徐恒;黄榕 | ||
| 所属领域: | |||||
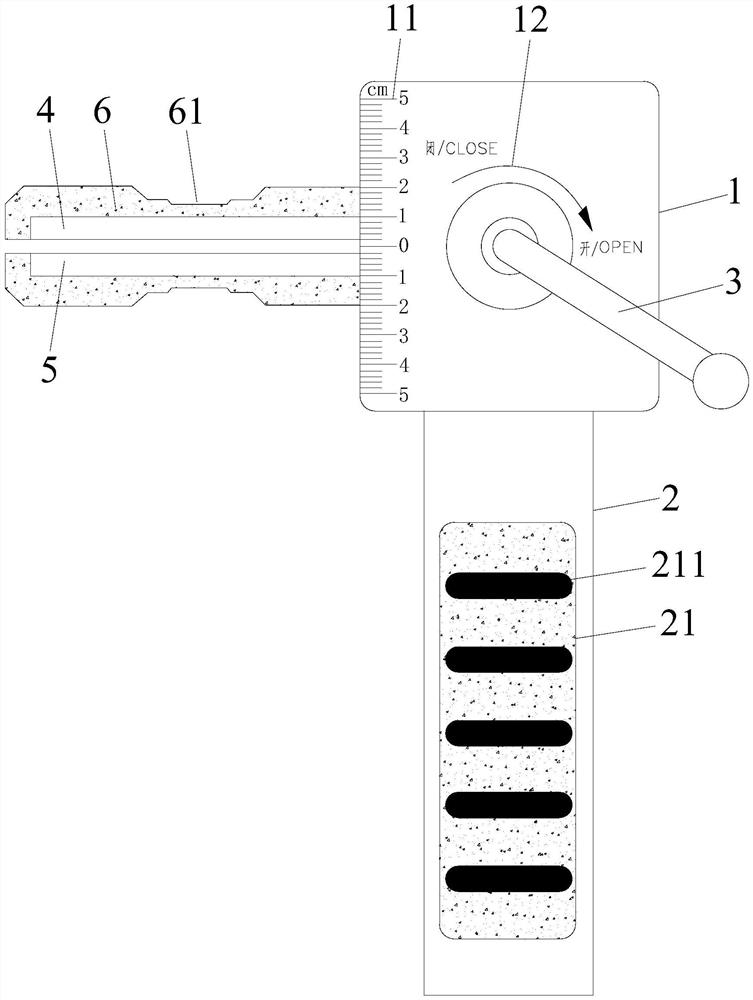
| 摘要: | 本实用新型公开了一种张口功能锻炼器,包括连接座、手柄、摇臂、上颚支撑和下颚支撑,所述手柄固定连接至连接座,摇臂可转动地安装在连接座上,上颚支撑、下颚支撑以垂直手柄的布置方式铰接连接至连接座并且通过转动的摇臂联动开合。本实用新型的张口功能锻炼器便于病人张口锻炼,有效改善病人张口困难。 | ||||
| 补充信息 | |||||
| 转让方式: | 成熟度: | 预估价值: | |||
| 市场前景: | |||||