样品
成果详情
| 项目简介 | |||||
|---|---|---|---|---|---|
| 技术简介: | |||||
| 专利类型: | 实用新型 | 专利申请号: | CN202421570810.6 | 公开号: | CN222804609U |
| 专利权人: | 南方医科大学珠江医院 | 发明设计人: | 陈享媛;魏娟;罗英;杨皓渊;邹春梅 | ||
| 所属领域: | |||||
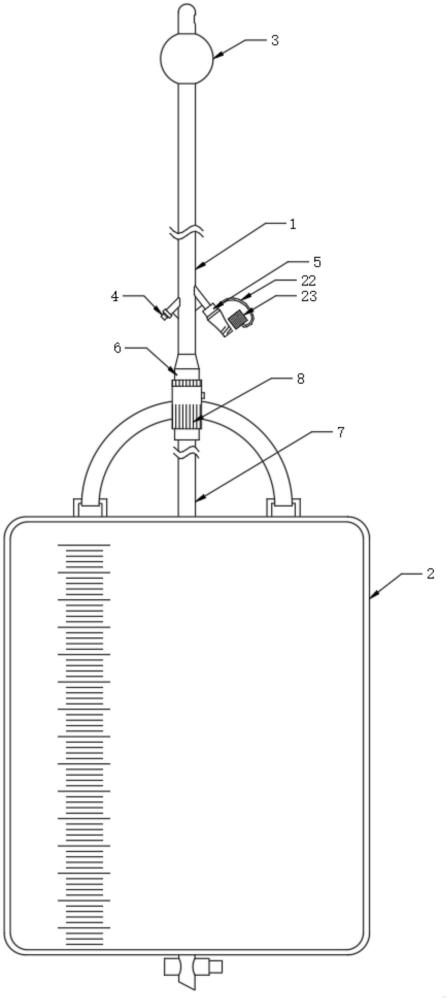
| 摘要: | 本实用新型属于临床医疗技术领域,尤其为一种自锁式导尿管连接系统,包括导尿管与集尿袋,所述导尿管上设置有气囊、充气接头、冲洗留取接头与连接头A,所述集尿袋上设置有连接管,而连接管上则设置有与连接头A相适配的连接头B,所述连接头A上开设有凹槽,所述连接头A外端设置有外螺纹,而其内端则设置有闭合引流通路的密封挡片,所述连接头B内端设置有插头、密封圈与内螺纹,所述连接头B中开设有移动槽,所述移动槽中设置有弹簧与顶块,且顶块通过拉杆与拉块相连,通过本实用新型新型在使用时,不仅便于连接、分离,同时,还可有效增强连接的紧密性,防止尿液泄露,给医护人员的护理工作提供便利。 | ||||
| 补充信息 | |||||
| 转让方式: | 成熟度: | 预估价值: | |||
| 市场前景: | |||||