样品
成果详情
| 项目简介 | |||||
|---|---|---|---|---|---|
| 技术简介: | |||||
| 专利类型: | 实用新型 | 专利申请号: | CN202120174848.1 | 公开号: | CN214856315U |
| 专利权人: | 南方医科大学南方医院 | 发明设计人: | 周静;李园;杨荷;周敏洁;肖文杰;汤帆 | ||
| 所属领域: | |||||
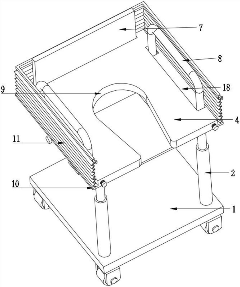
| 摘要: | 本实用新型公开了医疗器械技术领域的一种移动升降坐便椅,包括移动底板,移动底板顶部固定连接有一组导向伸缩杆和调节支架,导向伸缩杆顶部固定连接有坐板,调节支架转动连接在坐板和移动底板之间,调节支架包括两组折叠臂,折叠臂转接处之间穿过有调节螺杆,坐板侧边滑动连接有靠背和扶手,调节螺杆与折叠臂转接处螺纹连接,坐板中间开设有排泄孔,坐板底部固定连接有延伸边,延伸边顶部固定连接有折叠波纹围片,折叠波纹围片端部固定连接有挂钩,坐板底部固定连接有放置框,本实用新型病人可直接挪动到坐板上,较为方便,且减少移动量,降低风险,保护病人隐私,避免尴尬,病人排泄物落在放置框内放置的承接盆内,方便后续处理。 | ||||
| 补充信息 | |||||
| 转让方式: | 成熟度: | 预估价值: | |||
| 市场前景: | |||||