样品
成果详情
| 项目简介 | |||||
|---|---|---|---|---|---|
| 技术简介: | |||||
| 专利类型: | 实用新型 | 专利申请号: | CN202220576390.7 | 公开号: | CN217724499U |
| 专利权人: | 南方医科大学珠江医院 | 发明设计人: | 黄国志;张卓栋;曾庆;邹积华;何龙龙;李士林;何子俊;范伟超 | ||
| 所属领域: | |||||
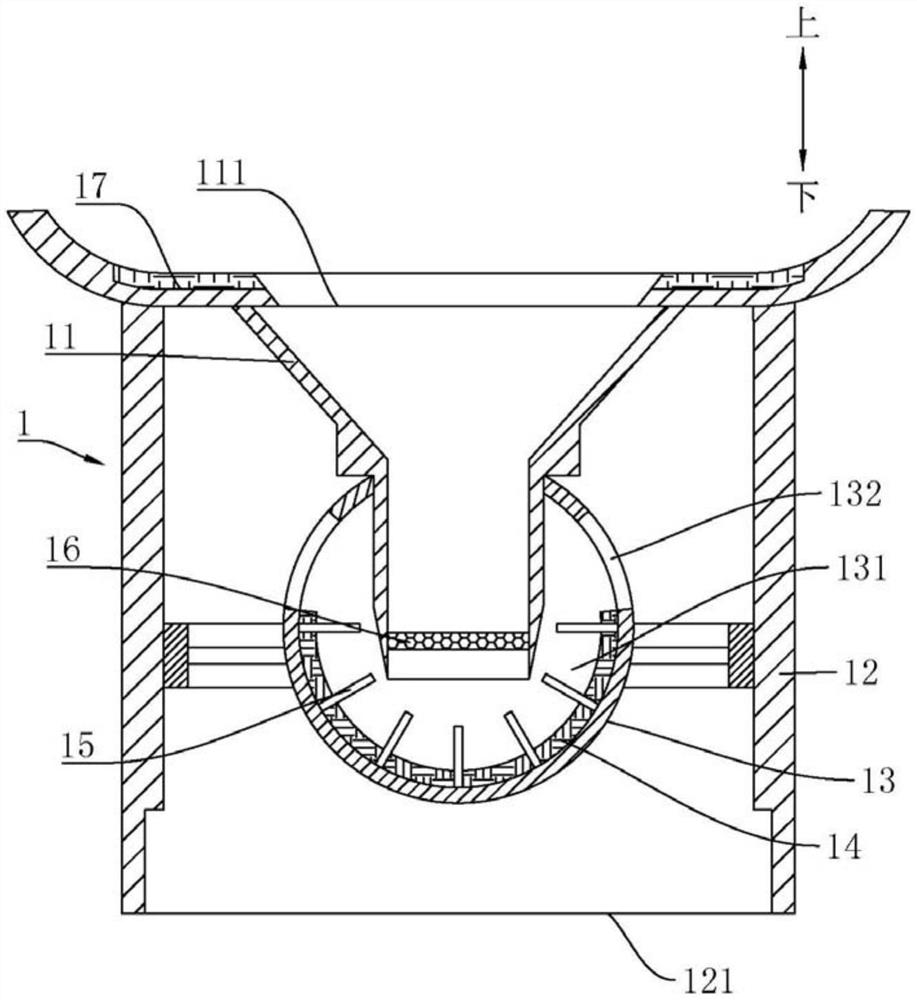
| 摘要: | 本实用新型涉及医疗设备技术领域,公开了一种呼吸气嘴及呼吸肌训练装置,包括气嘴本体、管体及集水件;所述气嘴本体呈向下收缩的漏斗状,所述气嘴本体的上端为进气口,所述管体的下端为出气口,所述进气口与所述管体的上端相连,所述气嘴本体的下端伸入至所述管体内,所述集水件设于所述管体内对应于所述气嘴本体的下端口处,所述集水件内具有集水腔,且所述集水腔连通所述气嘴本体及所述出气口。本实用新型呼吸气嘴中的集水件能存储呼气时气体中的口水,防止口水影响呼吸肌训练,减少口水进入机器中。 | ||||
| 补充信息 | |||||
| 转让方式: | 成熟度: | 预估价值: | |||
| 市场前景: | |||||