样品
成果详情
| 项目简介 | |||||
|---|---|---|---|---|---|
| 技术简介: | |||||
| 专利类型: | 实用新型 | 专利申请号: | CN202020799767.6 | 公开号: | CN212465025U |
| 专利权人: | 南方医科大学南方医院 | 发明设计人: | 王晓艳;周宏珍;刘月;涂锦怡;贾淼;刘杨杨;侯佳坤;胡瑞丹;李牧玲;白雪洁 | ||
| 所属领域: | |||||
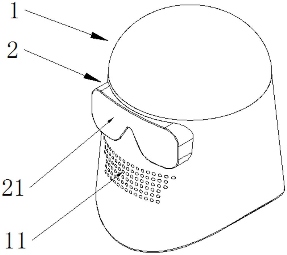
| 摘要: | 本实用新型涉及一种护目面罩,包括面罩本体和护目视窗;所述面罩本体呈上小下大的台型结构;所述面罩本体下端敞开设置且所述面罩本体下部边缘呈弧形;所述面罩本体两侧下端开设有弧形口;所述护目视窗水平中空,固定在所述面罩本体上部前端;所述护目视窗后端穿入所述面罩本体内;所述护目视窗前端封闭固定有镜片;所述面罩本体内位于所述护目视窗两侧还分别固定有松紧带的一端。该护目面罩在满足安全防疫要求的同时,保证佩戴者的舒适性,减少皮肤损伤,降低感染风险;此外,大视窗在保证视野的同时又可在内侧佩戴眼镜,满足不同人群的需求。 | ||||
| 补充信息 | |||||
| 转让方式: | 成熟度: | 预估价值: | |||
| 市场前景: | |||||