样品
成果详情
| 项目简介 | |||||
|---|---|---|---|---|---|
| 技术简介: | |||||
| 专利类型: | 实用新型 | 专利申请号: | CN202220552062.3 | 公开号: | CN217185117U | 
| 专利权人: | 南方医科大学南方医院 | 发明设计人: | 赵晓倩 | ||
| 所属领域: | |||||
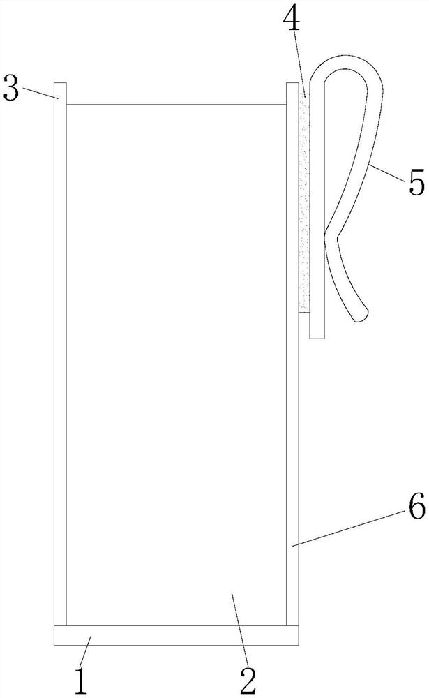
| 摘要: | 本实用新型公开了一种医用笔袋,包括底板,所述底板顶部的左右两侧分别固定连接有后板和前板,所述前板右侧的顶部固定连接有夹部,所述后板和前板之间固定连接有连接布,所述底板的顶部固定连接有海绵垫,所述底板的顶部固定连接有隔板,所述隔板的顶部贯穿至海绵垫的顶部,所述隔板的右侧固定连接有置笔槽,通过设置魔术贴,能够方便把夹部从前板上拆下。本实用新型通过设置底板、连接布、后板、魔术贴、夹部、前板、隔板、海绵垫、置笔槽、橡胶海绵套筒、第一基层布、防水透气膜和第二基层布的配合使用,具备能够放置医用小工具,实用范围更广,固定更加稳定,避免脱落,使用更加方便,提高工作效率的优点。 | ||||
| 补充信息 | |||||
| 转让方式: | 成熟度: | 预估价值: | |||
| 市场前景: | |||||