样品
成果详情
| 项目简介 | |||||
|---|---|---|---|---|---|
| 技术简介: | |||||
| 专利类型: | 实用新型 | 专利申请号: | CN202320909410.2 | 公开号: | CN219962876U |
| 专利权人: | 南方医科大学南方医院 | 发明设计人: | 何小霞;彭勤宝;林天晓 | ||
| 所属领域: | |||||
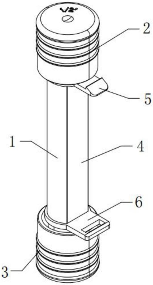
| 摘要: | 本实用新型公开了一种分光光度仪探头,包括:用于动态检测血红蛋白浓度以及混合静脉血氧饱和度的分光光度仪探测组件,分光光度仪探测组件包括平行光管、目镜以及物镜,其中:平行光管的前端一体设有第一环形连接座,且平行光管的尾端一体设有第二环形连接座。本实用新型提供的分光光度仪探头主要由平行光管、目镜以及物镜组成,其中,平行光管为PVC管体,采用PVC材料制成的平行光管,其折射率和色散率较好,可以有效提高检测精度;设置平行光管为外径为1/2、3/8、1/4英寸的三种型号,对应做大体重、中体重和儿科手术时动态检测患者血红蛋白浓度和混合静脉血氧饱和度使用,也可以降低检测结果的偏差值,从而有效提高检测精度。 | ||||
| 补充信息 | |||||
| 转让方式: | 成熟度: | 预估价值: | |||
| 市场前景: | |||||