样品
成果详情
| 项目简介 | |||||
|---|---|---|---|---|---|
| 技术简介: | |||||
| 专利类型: | 发明 | 专利申请号: | CN202111058946.X | 公开号: | CN113598493B | 
| 专利权人: | 南方医科大学南方医院 | 发明设计人: | 蔡丽丹 | ||
| 所属领域: | |||||
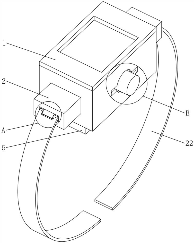
| 摘要: | 本发明公开了一种患者住院用的呼叫设备,该呼叫设备为能够佩戴在手上的佩戴式呼叫设备,其包括呼叫机主体,该呼叫机主体与呼叫中心无线连接,所述呼叫机主体两端对称设置有表带组件,所述表带组件包括壳体、表带本体,所述壳体内设置有定位机构并且该壳体一端与呼叫机主体连接且该壳体另一端开设有尺寸调节腔,所述尺寸调节腔内滑动设置有尺寸调节板,所述尺寸调节板一端与表带本体转动连接且该尺寸调节板与定位机构相配合形成表带本体与壳体可拆卸连接的结构,所述呼叫机主体的一侧开设有按钮安装腔,所述按钮安装腔内可拆卸设置有按钮组件。本发明极大便利了患者,并且其具有检修方便、适用于不同手腕尺寸等优点。 | ||||
| 补充信息 | |||||
| 转让方式: | 成熟度: | 预估价值: | |||
| 市场前景: | |||||