样品
成果详情
| 项目简介 | |||||
|---|---|---|---|---|---|
| 技术简介: | |||||
| 专利类型: | 实用新型 | 专利申请号: | CN202020847775.3 | 公开号: | CN212237408U |
| 专利权人: | 南方医科大学南方医院 | 发明设计人: | 曹丽爽 | ||
| 所属领域: | |||||
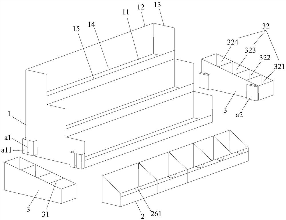
| 摘要: | 本实用新型公开了一种组合式可拆卸大容量采血架,包括纵长型的阶梯型支架,所述阶梯型支架包括上、中、下三层阶梯,上、中、下三层阶梯均有置放空间,每一层阶梯的置放空间内放置有多个大小不同的顶部敞口的独立置物盒,各独立置物盒上有用于插放患者信息标签的标签插口。本实用新型的组合式可拆卸大容量采血架携带方便,省时省力,方便查对,保障护理安全。 | ||||
| 补充信息 | |||||
| 转让方式: | 成熟度: | 预估价值: | |||
| 市场前景: | |||||