样品
成果详情
| 项目简介 | |||||
|---|---|---|---|---|---|
| 技术简介: | |||||
| 专利类型: | 实用新型 | 专利申请号: | CN201821389785.6 | 公开号: | CN209005035U |
| 专利权人: | 南方医科大学南方医院 | 发明设计人: | 谢一色;黄榕;蔡丽红;黄少慧;曾嘉 | ||
| 所属领域: | |||||
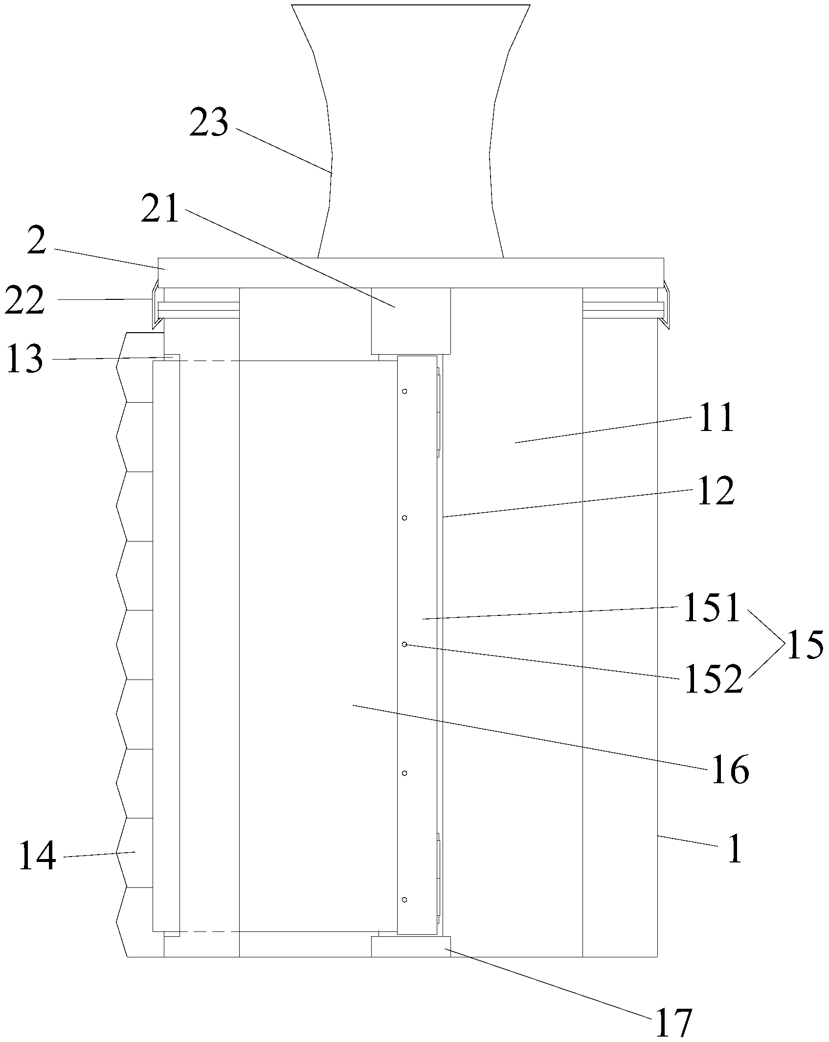
| 摘要: | 本实用新型公开了一种一次性包装袋快速手消毒液容器,包括瓶体,瓶体的上端敞口并且在敞口处可拆卸固定有端盖,端盖上侧有固定柄,瓶体内是容纳腔,容纳腔内有竖向布置的转轴,转轴上卷绕有由多个内装有手消毒液的独立包装袋依次连接构成的袋装手消毒液,瓶体上开设有竖向布置的开槽,瓶体在开槽的其中一竖直边旁有能够切割相邻的两个独立包装袋之间的连接位置的金属锯齿薄片,金属锯齿薄片固定在瓶体外侧。本实用新型的一次性包装袋快速手消毒液容器方便单手撕下独立包装,而且也能使治疗车桌面整洁。 | ||||
| 补充信息 | |||||
| 转让方式: | 成熟度: | 预估价值: | |||
| 市场前景: | |||||