样品
成果详情
| 项目简介 | |||||
|---|---|---|---|---|---|
| 技术简介: | |||||
| 专利类型: | 实用新型 | 专利申请号: | CN201921137636.5 | 公开号: | CN210299529U |
| 专利权人: | 南方医科大学南方医院 | 发明设计人: | 郭亚云;黄榕;宋洁;蔡丽红;郭萍;刘映晨 | ||
| 所属领域: | |||||
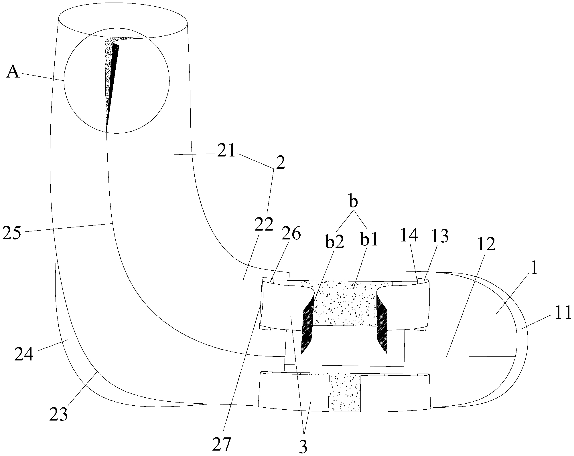
| 摘要: | 本实用新型公开了一种可调节的防压疮袜子,包括袜头和袜筒,所述袜筒包括竖直部分和自竖直部分下端朝前弯曲形成的水平部分,竖直部分与水平部分的连接处的底部有袜跟,袜跟和袜头外表面均有防压疮垫,水平部分与袜头通过长度调节带可拆卸连接,竖直部分、水平部分和袜头的侧面具有可调节袜筒和袜头大小的开口,开口的两边通过魔术贴结构一连接。本实用新型的可调节的防压疮袜子解决了不能调节袜子的长短和大小的问题,可适应不同脚长的病人使用并且提高了穿着舒适性。 | ||||
| 补充信息 | |||||
| 转让方式: | 成熟度: | 预估价值: | |||
| 市场前景: | |||||