样品
成果详情
| 项目简介 | |||||
|---|---|---|---|---|---|
| 技术简介: | |||||
| 专利类型: | 实用新型 | 专利申请号: | CN202320372978.5 | 公开号: | CN219354467U | 
| 专利权人: | 南方医科大学南方医院 | 发明设计人: | 张婷婷 | ||
| 所属领域: | |||||
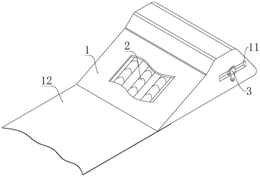
| 摘要: | 本实用新型公开了一种患者体位垫,包括:体位垫主体;放松机构,放松机构安装在体位垫主体的内部,放松机构用于放松患者的肌肤和肌肉;控制机构,控制机构设置在放松机构的一侧,控制机构用于控制放松机构气囊的膨胀和松弛。本实用新型患者长时间压在体位垫主体上,容易使患者感到不舒适,并且患者与体位垫主体的接触面可能会发生压疮,长时间可能会影响患者的血液流通,因此,护理人员或患者的家属可以定时通过转动控制机构,通过转动的控制机构控制放松机构中第二膨胀气囊与第一膨胀气囊交错膨胀,以此可以对患者的肌肤进行按摩,还可以使患者与体位垫主体的接触面进行换位置,从而可以保证患者的血液流通,使患者更加舒适。 | ||||
| 补充信息 | |||||
| 转让方式: | 成熟度: | 预估价值: | |||
| 市场前景: | |||||