样品
成果详情
| 项目简介 | |||||
|---|---|---|---|---|---|
| 技术简介: | |||||
| 专利类型: | 发明 | 专利申请号: | CN201510874069.1 | 公开号: | CN105534603A |
| 专利权人: | 南方医科大学珠江医院;杭州好克光电仪器有限公司 | 发明设计人: | 徐啊白;陈玢屾;申海燕;罗迎霞;刘春晓;包国华 | ||
| 所属领域: | |||||
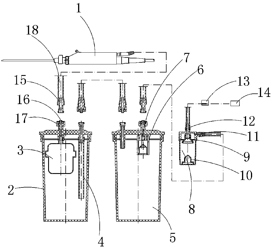
| 摘要: | 本发明涉及一种连续灌注器,尤其涉及一种组织碎块收集及溢液保护系统及其操作方法。包括刨削器刀具,所述的刨削器刀具与组织收集组件相连通,所述的组织收集组件与废液收集组件相连通,所述的废液收集组件与溢液保护组件相连通。组织碎块收集及溢液保护系统及其操作方法进一步提升使用性能,操作方便。 | ||||
| 补充信息 | |||||
| 转让方式: | 成熟度: | 预估价值: | |||
| 市场前景: | |||||