样品
成果详情
| 项目简介 | |||||
|---|---|---|---|---|---|
| 技术简介: | |||||
| 专利类型: | 实用新型 | 专利申请号: | CN202121840849.1 | 公开号: | CN216855419U |
| 专利权人: | 南方医科大学南方医院 | 发明设计人: | 唐素梅;包良笑;陈碧贤;罗亚;姚俏冰;翁巧兰 | ||
| 所属领域: | |||||
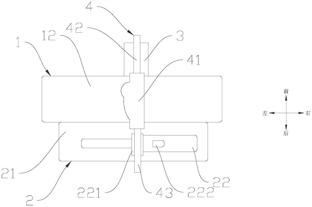
| 摘要: | 本实用新型涉及临床医用护理技术领域,公开了一种静脉留置针的防压固定垫,包括:第一固定部,其用于固定所述静脉留置针的塑料针座,所述第一固定部包括第一粘贴层和防压层,所述第一粘贴层设置于所述防压层的至少其中一侧表面;第二固定部,其设置于所述静脉留置针的延长管一侧,所述第二固定部用于固定所述延长管,所述第二固定部包括第二粘贴层和固定层,所述固定层与所述延长管设置于所述第二粘贴层的同一侧。本装置可防止塑料针座对对病患的皮肤造成压力性损伤,可将延长管固定良好,不易松脱,避免了多次更换静脉留置位置,减少了护士的工作量,减少了患者的医疗成本。 | ||||
| 补充信息 | |||||
| 转让方式: | 成熟度: | 预估价值: | |||
| 市场前景: | |||||