样品
成果详情
| 项目简介 | |||||
|---|---|---|---|---|---|
| 技术简介: | |||||
| 专利类型: | 实用新型 | 专利申请号: | CN201822100990.2 | 公开号: | CN209808498U |
| 专利权人: | 南方医科大学南方医院 | 发明设计人: | 季伟;林俊育;李若瑶;蒋晖;程勇泉;朱青安 | ||
| 所属领域: | |||||
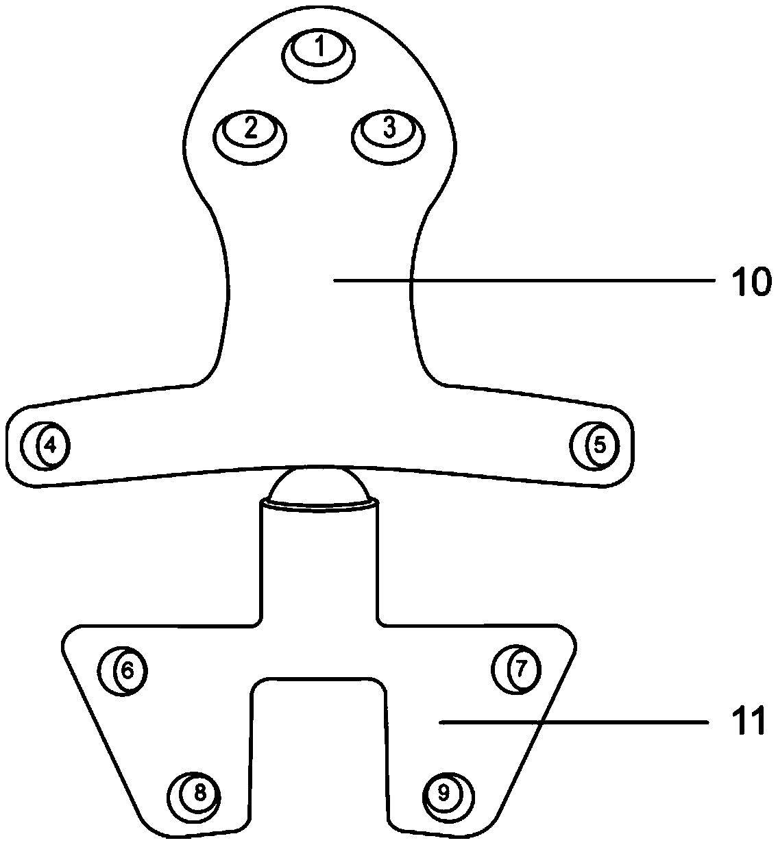
| 摘要: | 本实用新型涉及一种前路枕颈人工关节装置。本实用新型所述的前路枕颈人工关节装置包括可分离的两个部分:寰枕固定部、枢椎固定部;所述寰枕固定部包括一体成型的两个部分:寰枕固定板,对应于人体寰枕部位;以及向后方延续的球轴结构;所述枢椎固定部包括一体成型的两个部分:枢椎固定板,对应于人体枢椎部位;以及向后方延续的底座结构;其中,所述球轴结构与所述底座结构相互接合。本实用新型所述的前路枕颈人工关节装置能一期行颈前路颅颈固定,大大降低手术风险,减少手术时间,更为有利于患者的康复;还能使患者术后保留更大的颈椎活动度,允许患者术后颈椎做前屈、后伸、侧弯运动以及不受限的轴向旋转,有利于提高患者的生活质量。 | ||||
| 补充信息 | |||||
| 转让方式: | 成熟度: | 预估价值: | |||
| 市场前景: | |||||